Karta Obwiednia szczegółu (okno dialogowe Modyfikuj styl szczegółu — Zestaw narzędzi AutoCAD Mechanical)

Ustawia właściwości linii obwiedni szczegółu, krawędzi modelu i linii połączenia widoków szczegółowych.

Lista opcji

Wyświetlane są następujące opcje.

Linia obwiedni

Kolor linii
Ustawia kolor linii obwiedni szczegółu. Po kliknięciu opcji Wybierz kolor (na dole listy Kolor) zostanie wyświetlone okno dialogowe Wybierz kolor. Można też wprowadzić nazwę koloru lub jego numer.
Uwaga: Jeśli zostanie wybrany kolor oznaczony „Według NazwaBieżącejNormyRysunkowej”, kolor linii obwiedni szczegółu będzie uzyskiwany z okna dialogowego Ustawienia właściwości obiektu. Ta opcja jest dostępna tylko w przypadku stylów szczegółu programu Zestaw narzędzi AutoCAD Mechanical.
Rodzaj linii
Ustawia rodzaj linii dla linii obwiedni szczegółu. Jeśli klikniesz opcję Inne, zostanie wyświetlone okno dialogowe Wybierz rodzaj linii.
Uwaga: Jeśli zostanie wybrany rodzaj linii oznaczony „Według NazwaBieżącejNormyRysunkowej”, rodzaj linii będzie uzyskiwany z okna dialogowego Ustawienia właściwości obiektu. Ta opcja jest dostępna tylko w przypadku stylów szczegółu programu Zestaw narzędzi AutoCAD Mechanical.
Szerokość linii
Ustawia szerokość linii obwiedni szczegółu.
Uwaga: Jeśli zostanie wybrana szerokość linii oznaczona „Według NazwaBieżącejNormyRysunkowej”, szerokość linii obwiedni szczegółu będzie uzyskiwana z okna dialogowego Ustawienia właściwości obiektu. Ta opcja jest dostępna tylko w przypadku stylów szczegółu programu Zestaw narzędzi AutoCAD Mechanical.

Krawędź modelu

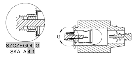
Gładka
Określa, że linie cięcia na modelach w widokach szczegółowych mają być gładkie.
zastosowanie do widoków szczegółowych w dokumentacji modelu zastosowanie do widoków szczegółowych AMDETAIL
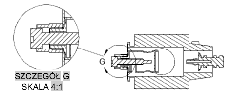
Gładka z ramką
Określa, że wokół widoków szczegółowych ma być rysowana ramka oraz że linie cięcia na modelach przedstawianych w widokach szczegółowych mają być gładkie.
zastosowanie do widoków szczegółowych w dokumentacji modelu zastosowanie do widoków szczegółowych AMDETAIL
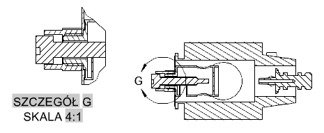
Gładka z linią łączącą
Określa, że między ramką szczegółu a obwiednią widoku szczegółowego ma być rysowana linia połączenia. Ponadto określa, że wokół widoków szczegółowych ma być rysowana ramka oraz że linie cięcia na modelach przedstawianych w widokach szczegółowych mają być gładkie.
zastosowanie do widoków szczegółowych w dokumentacji modelu zastosowanie do widoków szczegółowych AMDETAIL
Poszarpana
Określa, że linie cięcia na modelach w widokach szczegółowych mają być poszarpane.
zastosowanie do widoków szczegółowych w dokumentacji modelu zastosowanie do widoków szczegółowych AMDETAIL
Uwaga: W widokach szczegółowych AMDETAIL stosowanie poszarpanych linii cięcia nie jest możliwe. Gdy ta opcja jest wybrana, widoki rysunku AMDETAIL zachowują się tak, jak gdyby była wybrana opcja Gładka.
Kolor linii
Ustawia kolor ramki szczegółu. Po kliknięciu opcji Wybierz kolor (na dole listy Kolor) zostanie wyświetlone okno dialogowe Wybierz kolor. Można też wprowadzić nazwę koloru lub jego numer.
Uwaga: Jeśli zostanie wybrany kolor oznaczony „Według NazwaBieżącejNormyRysunkowej”, kolor linii ramki szczegółu będzie uzyskiwany z okna dialogowego Ustawienia właściwości obiektu. Ta opcja jest dostępna tylko w przypadku stylów szczegółu programu Zestaw narzędzi AutoCAD Mechanical.
Rodzaj linii
Ustawia rodzaj linii ramki szczegółu. Jeśli klikniesz opcję Inne, zostanie wyświetlone okno dialogowe Wybierz rodzaj linii.
Uwaga: Jeśli zostanie wybrany rodzaj linii oznaczony „Według NazwaBieżącejNormyRysunkowej”, rodzaj linii ramki szczegółu będzie uzyskiwany z okna dialogowego Ustawienia właściwości obiektu. Ta opcja jest dostępna tylko w przypadku stylów szczegółu programu Zestaw narzędzi AutoCAD Mechanical.
Szerokość linii
Ustawia szerokość linii ramki widoku szczegółu.
Uwaga: Jeśli zostanie wybrany rodzaj linii oznaczony „Według NazwaBieżącejNormyRysunkowej”, szerokość linii ramki szczegółu będzie uzyskiwana z okna dialogowego Ustawienia właściwości obiektu. Ta opcja jest dostępna tylko w przypadku stylów szczegółu programu Zestaw narzędzi AutoCAD Mechanical.

Linia połączenia

Kolor linii
Ustawia kolor linii łączącej ramkę szczegółu z obwiednią widoku szczegółowego. Po kliknięciu opcji Wybierz kolor (na dole listy Kolor) zostanie wyświetlone okno dialogowe Wybierz kolor. Można też wprowadzić nazwę koloru lub jego numer.
Uwaga: Jeśli zostanie wybrany kolor oznaczony „Według NazwaBieżącejNormyRysunkowej”, kolor linii połączenia będzie uzyskiwany z okna dialogowego Ustawienia właściwości obiektu. Ta opcja jest dostępna tylko w przypadku stylów szczegółu programu Zestaw narzędzi AutoCAD Mechanical.
Rodzaj linii
Ustawia rodzaj linii dla linii połączenia. Jeśli klikniesz opcję Inne, zostanie wyświetlone okno dialogowe Wybierz rodzaj linii.
Uwaga: Jeśli zostanie wybrany rodzaj linii oznaczony „Według NazwaBieżącejNormyRysunkowej”, rodzaj linii dla linii połączenia będzie uzyskiwany z okna dialogowego Ustawienia właściwości obiektu. Ta opcja jest dostępna tylko w przypadku stylów szczegółu programu Zestaw narzędzi AutoCAD Mechanical.
Szerokość linii
Ustawia szerokość linii dla linii połączenia.
Uwaga: Jeśli zostanie wybrany rodzaj linii oznaczony „Według NazwaBieżącejNormyRysunkowej”, szerokość linii dla linii połączenia będzie uzyskiwana z okna dialogowego Ustawienia właściwości obiektu. Ta opcja jest dostępna tylko w przypadku stylów szczegółu programu Zestaw narzędzi AutoCAD Mechanical.

Przywróć domyślne

Przywraca wszystkim parametrom domyślne wartości standardu rysunkowego i wersji, na których styl jest oparty. Ten przycisk jest widoczny tylko w przypadku stylów szczegółu programu Zestaw narzędzi AutoCAD Mechanical.