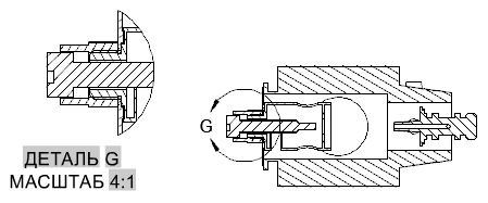
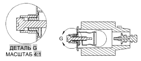
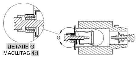
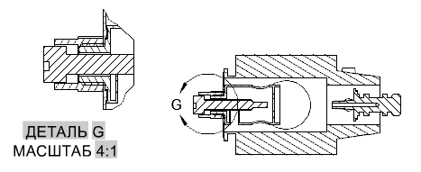
Создание выносного элемента для части вида чертежа документации модели.
Выносной элемент представляет собой вид чертежа, содержащий часть другого вида чертежа в увеличенном масштабе. Выносной элемент может иметь круглую или прямоугольную форму. Эта команда поддерживается только в пространстве листа, и пользователь должен иметь вид чертежа.
Отображаются следующие запросы.
Задание вида, на основе которого создается выносной элемент.
Задание центральной точки на родительском элементе для границы выносного элемента.
Эта панель отображается, только если был создан выносной элемент из модели Inventor. При создании выносных элементов можно редактировать лишь значения для именованного вида.
Указание параметров отображения для выносного элемента.

Указание масштаба выносного элемента. По умолчанию масштаб выносного элемента равен удвоенному масштабу родительского вида или следующему по величине значению в списке "Масштаб" на панели "Внешний вид" на ленте.
Указание параметров видимости для выносного элемента. Параметры видимости объектов зависят от моделей и некоторые параметры могут быть недоступны для выбранной модели, а также в созданном из модели виде.
Включение и отключение видимости ребер пересечения. Ребра пересечения появляются при пересечении одного или нескольких тел друг с другом. Если видимость ребер пересечения включена, в месте схождения тел отображается отрезок.
Включение и отключение видимости линий перехода. Касательные ребра отмечают переход между плоской поверхностью и скругленной кромкой и чаще всего называются сопрягаемыми кромками.
Включение или отключение видимости линий границ сгиба листового металла. Линии границ сгиба листового металла указывают местоположение перехода, относительно которого выполняется сгиб в виде плоского компонента из листового металла.
Этот параметр доступен только в том случае, если соответствующая модель имеет вид плоского компонента из листового металла, определенного в ней.
Включение и отключение видимости линий резьбы на винтах и резьбовых отверстиях.
Включение и отключение видимости представлений сборки. Представления сборки являются линиями в разнесенном виде (в файле схем), указывающими направление, по которому компоненты перемещаются в позиции монтажа.
Определение типа границы выносного элемента.
Если включены подразумеваемые зависимости, центр кругового контура выносного элемента связан с точкой на родительском виде. Если подразумеваемые зависимости отключены, центр кругового контура выносного элемента не связан с точкой на родительском виде.
Если включены подразумеваемые зависимости, угол прямоугольного контура выносного элемента связан с точкой на родительском виде. Если подразумеваемые зависимости отключены, угол прямоугольного контура выносного элемента связан с точкой на родительском виде.
Программа всегда определяет из чертежа следующую свободную метку выносного элемента.
Задание отображения текста метки выносного элемента.




Задание метки для контура выносного элемента и итогового выносного элемента.
Определяет, будет ли отображаться метка выносного элемента.
Перемещение выносного элемента после его размещения в области рисования без принудительного завершения команды.
Переход к предыдущему запросу или завершение команды в зависимости от того, где в цикле команды находится параметр.