В токарно/фрезерных станках патрон держится инструментальными блоками. Инструментальные блоки, наиболее вероятно, поставляются продавцом станка. По существу, они хранятся в файле дизайна станка.
Существует три основных типа инструментальных блоков:
Этот инструментальный блок держит правосторонние токарные инструменты и закреплен на торце револьверной головки.
Этот инструмент держит левосторонние токарные инструменты и закреплен на торце револьверной головки.
- Револьверная головка
- Инструментальный блок
- Токарный резец
Такой инструментальный блок держит фрезы параллельно оси Х и закреплен на наружном диаметре револьверной головки.
- Револьверная головка
- X инструментальный блок (крепление снаружи)
- X инструмент
Такой инструментальный блок держит фрезы параллельно оси Х и закреплен на торце револьверной головки.
- Револьверная головка
- X инструментальный блок (крепление не на НД)
- X инструмент
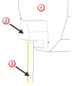
Этот инструментальный блок держит расточные оправки и сверла параллельно оси Z и может быть закреплен на наружном диаметре или торце револьверной головки.
- Револьверная головка
- ВД или Z инструментальный блок
- Z инструмент и патрон
Вы можете захотеть дифференцировать инструментальные блоки для обточки наружного диаметра левосторонним инструментом от правостороннего инструмента. Если вы используете левосторонний токарный инструмент, нужно добавить левосторонний инструментальный блок.
Существует еще один параметр для инструментов с поворотом по X и перемещением по оси Z: их можно установить на наружном диаметре револьверной головки или на ее торце. Если при добавлении положения инструмента на револьверную головку вы задали, что положение инструмента было на торце револьверной головки, вам следует использовать в диалоге также опцию торцового крепления. (Обратное утверждение также верно, если инструмент с наружным креплением использовался как положение инструмента, для этого инструментального блока также задайте наружное крепление).
Если вы не можете установить инструмент на наружный диаметр револьверной головки, вам не нужно определять инструментальный блок с наружным креплением. Вы должны, однако, иметь, как минимум, один твердотельный инструментальный блок, определенный для каждого типа инструментов, который вы бы хотели симулировать. В настоящее время вы не можете использовать одно и то же тело для разных типов инструментальных блоков.
Если инструментальный блок наружного точения не был задан, FeatureCAM пытается использовать X-инструментальный блок с наружным креплением для любых инструментов наружного точения. Таким образом, вы можете в целом определить станок только с двумя инструментальными блоками, один для наружного точения и X инструментов, а другой - для расточки внутреннего диаметра и других Z инструментов.
Вам нужно только задать инструментальные блоки для основной револьверной головки. Блоки с соответствующими преобразованиями используются для дополнительной револьверной головки автоматически.