可以自动调整图形中现有的平行线性标注和角度标注,以使其间距相等或在尺寸线处相互对齐。
DIMBASELINE 命令使用 DIMDLI 系统变量创建等间距标注,但放置标注后,更改该系统变量的值不会影响标注的间距。如果用户更改标注的文字大小或调整标注的比例,而标注保留在原来位置,则将会导致尺寸线和文字重叠的问题。
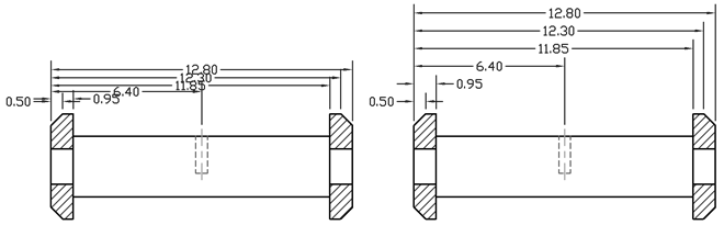
使用 DIMSPACE 命令可以将重叠或间距不等的线性标注和角度标注隔开。选择的标注必须是线性标注或角度标注并属于同一类型(旋转或对齐标注)、相互平行或同心并且在彼此的尺寸界线上。也可以通过使用间距值“0”对齐线性标注和角度标注。
下图显示了间距不等的平行线性标注以及使用 DIMSPACE 命令之后等间距的平行线性标注。
