關於調整標註之間的間距

您可自動調整圖面中的既有平行線性標註和角度標註,以便它們之間是等距離的或在標註線處對齊。

DIMBASELINE 指令使用系統變數 DIMDLI 建立等距標註,但是一旦放置了標註,變更系統變數值就不會影響標註的間距。如果您變更文字大小或調整標註比例,其仍處於原始位置,這可能導致標註線和文字重疊問題。

您可以使用 DIMSPACE 指令隔開重疊或非等距的線性和角度標註。所選標註必須是線性標註或角度標註、相同的類型 (旋轉式或對齊式)、相互平行或同心,並且在彼此的延伸線上。您也可以使用間距值為 0 來對齊線性和角度標註。

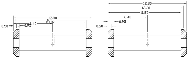
以下插圖展示了非等距的平行線性標註,然後是在使用 DIMSPACE 指令之後變得等距的標註。