Karta Hranice detailu (dialog Upravit styl detailu – aplikace Sada nástrojů AutoCAD Mechanical)

Nastavuje vlastnosti čar hranic, hran modelů a spojovacích čar detailů.

Seznam možností

Zobrazí se následující možnosti.

Čára hranice

Barva čáry
Nastaví barvu čáry hranice detailu. Pokud kliknete na možnost Vybrat barvu (v dolní části seznamu barev), zobrazí se dialog Vybrat barvu. Můžete také zadat název nebo číslo barvy.
Poznámka: Pokud vyberete barvu s popiskem „Podle NázevAktuálníNormyKreslení“, barva čáry hranice detailu bude získána z dialogu Nastavení vlastností objektu. Tato možnost je dostupná pouze u stylů detailů aplikace Sada nástrojů AutoCAD Mechanical.
Typ čáry
Nastaví typ čáry hranice detailu. Pokud kliknete na tlačítko Další, zobrazí se dialog Vybrat typ čáry.
Poznámka: Pokud vyberete typ čáry s popiskem „Podle NázevAktuálníNormyKreslení“, typ čáry roviny bude získán z dialogu Nastavení vlastností objektu. Tato možnost je dostupná pouze u stylů detailů aplikace Sada nástrojů AutoCAD Mechanical.
Tloušťka čáry
Nastaví tloušťku čáry hranice detailu.
Poznámka: Pokud vyberete tloušťku čáry s popiskem „Podle NázevAktuálníNormyKreslení“, tloušťka čáry hranice detailu bude získána z dialogu Nastavení vlastností objektu. Tato možnost je dostupná pouze u stylů detailů aplikace Sada nástrojů AutoCAD Mechanical.

Hrana modelu

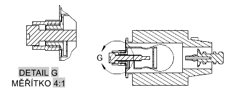
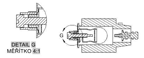
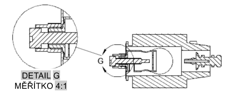
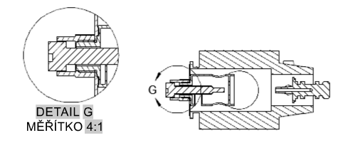
Plynulý
U modelů v detailech nastaví plynulé čáry řezu.
Použije se u detailů dokumentace modelu. Použije se u detailů vytvořených pomocí příkazu AMDETAIL.
Plynulý s ohraničením
Zobrazí rámeček okolo detailů a u modelů zobrazených v detailech nastaví plynulé čáry řezu.
Použije se u detailů dokumentace modelu. Použije se u detailů vytvořených pomocí příkazu AMDETAIL.
Plynulý se spojovací čarou
Zobrazí spojovací čáru mezi rámečkem detailu a hranicí detailu. Kromě toho zobrazí rámeček okolo detailů a u modelů zobrazených v detailech nastaví plynulé čáry řezu.
Použije se u detailů dokumentace modelu. Použije se u detailů vytvořených pomocí příkazu AMDETAIL.
Klikatý
U modelů v detailech nastaví klikaté čáry řezu.
Použije se u detailů dokumentace modelu. Použije se u detailů vytvořených pomocí příkazu AMDETAIL.
Poznámka: Detailní pohledy vytvořené pomocí příkazu AMDETAIL nepodporují klikaté čáry řezu. Pokud je tato možnost vybrána, výkresové pohledy příkazu AMDETAIL se budou chovat, jako by byla vybrána možnost Plynulý.
Barva čáry
Nastaví barvu rámečku detailu. Pokud kliknete na možnost Vybrat barvu (v dolní části seznamu barev), zobrazí se dialog Vybrat barvu. Můžete také zadat název nebo číslo barvy.
Poznámka: Pokud vyberete barvu s popiskem „Podle NázevAktuálníNormyKreslení“, barva čáry rámečku detailu bude získána z dialogu Nastavení vlastností objektu. Tato možnost je dostupná pouze u stylů detailů aplikace Sada nástrojů AutoCAD Mechanical.
Typ čáry
Nastaví typ čáry rámečku detailu. Pokud kliknete na tlačítko Další, zobrazí se dialog Vybrat typ čáry.
Poznámka: Pokud vyberete typ čáry s popiskem „Podle NázevAktuálníNormyKreslení“, typ čáry rámečku detailu bude získán z dialogu Nastavení vlastností objektu. Tato možnost je dostupná pouze u stylů detailů aplikace Sada nástrojů AutoCAD Mechanical.
Tloušťka čáry
Nastaví tloušťku čáry rámečku detailu.
Poznámka: Pokud vyberete typ čáry s popiskem „Podle NázevAktuálníNormyKreslení“, tloušťka čáry rámečku detailu bude získána z dialogu Nastavení vlastností objektu. Tato možnost je dostupná pouze u stylů detailů aplikace Sada nástrojů AutoCAD Mechanical.

Spojovací čára

Barva čáry
Nastaví barvu čáry spojující hranici detailu a rámeček detailu. Pokud kliknete na možnost Vybrat barvu (v dolní části seznamu barev), zobrazí se dialog Vybrat barvu. Můžete také zadat název nebo číslo barvy.
Poznámka: Pokud vyberete barvu s popiskem „Podle NázevAktuálníNormyKreslení“, barva spojovací čáry bude získána z dialogu Nastavení vlastností objektu. Tato možnost je dostupná pouze u stylů detailů aplikace Sada nástrojů AutoCAD Mechanical.
Typ čáry
Nastaví typ spojovací čáry. Pokud kliknete na tlačítko Další, zobrazí se dialog Vybrat typ čáry.
Poznámka: Pokud vyberete typ čáry s popiskem „Podle NázevAktuálníNormyKreslení“, typ spojovací čáry bude získán z dialogu Nastavení vlastností objektu. Tato možnost je dostupná pouze u stylů detailů aplikace Sada nástrojů AutoCAD Mechanical.
Tloušťka čáry
Nastaví tloušťku spojovací čáry.
Poznámka: Pokud vyberete typ čáry s popiskem „Podle NázevAktuálníNormyKreslení“, tloušťka spojovací čáry bude získána z dialogu Nastavení vlastností objektu. Tato možnost je dostupná pouze u stylů detailů aplikace Sada nástrojů AutoCAD Mechanical.

Obnovit výchozí

Vrátí všechny hodnoty na výchozí hodnoty normy kreslení a revize, na které je styl založen. Toto tlačítko se zobrazuje pouze u stylů detailů aplikace Sada nástrojů AutoCAD Mechanical.