Edita uma vista de desenho existente da documentação do modelo.
Quando a faixa de opções está ativa, este comando exibe a guia contextual da faixa de opções Editor de vistas de desenho. Quando a faixa de opções não está ativa, utilize a linha de comando para alterar as propriedades da vista a ser editada.
Os prompts a seguir são exibidos.
Especifica a vista de desenho para edição.
Especifica os tipos de representação para permitir que você selecione a representação que deseja mostrar na vista de desenho selecionada. Representações são suportadas somente por modelos do Inventor.
Seleciona uma representação da vista do projeto a ser exibida na vista de desenho selecionada. Inserir ? para exibir uma lista de vistas de projeto disponíveis.
Esta opção fica disponível somente se a vista de desenho selecionada for criada por meio de uma montagem do Inventor (*.iam) que contém as representações de vista de projeto.
Seleciona uma representação posicional a ser exibida na vista de desenho selecionada. Inserir ? para exibir uma lista de representações disponíveis.
Esta opção fica disponível somente se a vista de desenho selecionada for criada por meio de uma montagem do Inventor (*.iam) que contém as representações posicionais.
Seleciona uma representação de nível de detalhe a ser exibida na vista de desenho selecionada. Inserir ? para exibir uma lista de representações disponíveis.
Esta opção fica disponível somente se a vista de desenho selecionada for criada por meio de uma montagem do Inventor (*.iam).
Seleciona o estado de conjunto soldado a ser exibido na vista de desenho selecionada.
Inserir ? para exibir uma lista de estados e componentes de conjunto soldado em estado preparatório.
O estado Montagem exibe o conjunto soldado antes que qualquer operação seja executada nele. O estado Solda mostra a montagem depois que a soldagem é executada. O estado Usinagem mostra o conjunto soldado depois que a usinagem pós-soldagem é executada. O estado Preparação não é explicitamente listado. No entanto, a opção ? exibe os nomes dos componentes no estado preparatório pré-soldagem.
A representação de conjunto soldado fica disponível somente se a vista de desenho selecionada for criada por meio de uma montagem de conjunto soldado do Inventor (*.iam).
Seleciona um membro de uma fábrica do iAssembly ou do iPart a ser exibido na vista de desenho selecionada. Inserir ? para exibir uma lista de membros disponíveis.
Esta opção fica disponível somente se a vista de desenho selecionada for criada por meio de uma família do iAssembly ou do iPart (*.iam, *.ipt).
Seleciona a vista de chapa metálica a ser exibida na vista de desenho selecionada. Inserir ? para exibir uma lista de opções disponíveis.
Esta opção fica disponível somente se a vista de desenho selecionada for criada por meio de uma família do iAssembly ou do iPart (*.iam, *.ipt).
Seleciona a vista de apresentação a ser exibida na vista de desenho selecionada. Inserir ? para exibir uma lista de vistas disponíveis.
Esta opção fica disponível somente se a vista de desenho selecionada for criada por meio de um documento de apresentação do Inventor (*.ipn).
Especifica o estilo de exibição a ser utilizado na vista base.

Especifica a escala absoluta a ser utilizada na vista de desenho selecionada. Para alterar a escala, selecione uma escala padrão da lista suspensa ou insira diretamente uma escala fora do padrão.
Por padrão, as vistas projetadas e em corte herdam a mesma escala que a principal. As vistas de detalhe são uma escala maior do que a vista principal de escala.
Especifica as opções de visibilidade a serem definidas para a vista base.
Ativa ou desativa a visibilidade de arestas de interferência. As arestas de interferência ocorrem quando um ou mais corpos sólidos efetuam a intersecção entre si. Quando a visibilidade de arestas de interferência é ativada, o programa desenha uma linha onde os corpos sólidos se encontram.
Ativa ou desativa a visibilidade das arestas tangentes. As arestas tangentes marcam a transição entre uma superfície plana e uma aresta arredondada, normalmente vistas como arestas com concordância.
Ativa ou desativa a visibilidade das linhas de extensão de dobra de chapa metálica. Linhas de extensão de chapa metálica indicam a localização da transição sobre a qual uma dobra é articulada ou pregada em uma vista de chapa metálica planificada.
Esta opção está disponível somente se o modelo correspondente tem definida uma vista de chapa metálica planificada.
Ativa ou desativa a visibilidade das linhas de rosca em parafusos e orifícios roscados.
Ativa ou desativa a visibilidade da apresentação rastros. Apresentação rastros são linhas em uma vista explodida (em um arquivo de apresentação) que mostram a direção ao longo da qual os componentes são movidos na posição montada.
Especifica se o método de projeção da vista em corte é ortogonal.
Especifica se a profundidade da linha de corte.
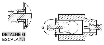
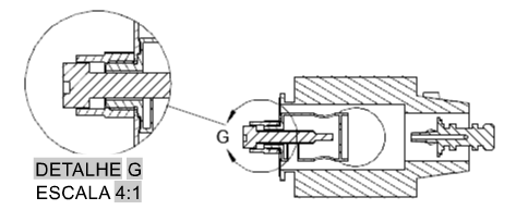
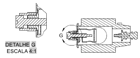
Especifica se o limite da vista de detalhe é circular ou retangular. O limite padrão é circular.




Especifica se a hachura é exibida na vista em corte ou na vista de detalhe selecionada.
Volta para o prompt anterior ou finaliza o comando, dependendo da posição no ciclo do comando em que a opção aparece.