Cotas gerais
Você pode criar cotas gerais nas vistas ortogonais ou isométricas. A geometria selecionada determina o tipo de cota e as opções disponíveis no menu de contexto.
Você pode sobrepor o texto da cota, o que não afeta a geometria do modelo.
Você pode alterar a precisão e a tolerância da cota, editar a chamada de detalhe e as pontas de seta ou alterar o conteúdo do texto da cota.

Cotas de linha base e conjuntos de cotas de linha base
Cria múltiplas cotas que exibem a distância ortogonal entre a origem (linha base) e as arestas ou pontos selecionados. A primeira aresta ou ponto selecionado é a geometria de origem. Você pode criar cotas individuais ou um conjunto de cotas.

Cotas ordenadas e conjuntos de cotas ordenadas
Cria múltiplas cotas ordenadas em um único processo. As cotas ordenadas alinham-se automaticamente quando são colocadas. Se o texto da cota sobrepõe-se, você pode alterar a posição ou o estilo da cota. Você pode criar cotas individuais ou um conjunto de cotas.

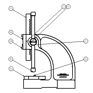
Recuperar cotas
Exibe todas as cotas do modelo ou somente as cotas relacionadas com peças ou operações selecionadas. Você seleciona as cotas que deseja manter na vista do desenho.
Somente cotas do modelo paralelas ao plano da vista estão disponíveis.
As cotas do modelo podem ser alteradas para manipular o arquivo de peça.

Marcas de centro
As marcas de centro são adicionadas ao arco ou ao círculo selecionado. O tamanho das linhas de extensão de revisão são automaticamente dimensionadas para caber na geometria.
As marcas de centro podem ser adicionadas individualmente ou usando o comando Linhas de centro automáticas.

Linhas de centro
Cria linhas de centro para arestas selecionadas, no ponto central das linhas ou no centro dos arcos ou os círculos. Cria uma linha central circular quando as operações formam um padrão circular.
O Autodesk Inventor suporta três tipos de linhas centrais: bissetor, padrão centralizado e axial.

Notas de furo/rosca
As notas de furo ou rosca exibem as informações das operações de furo, rosca e extrusão de corte cilíndrica de um modelo. O estilo da nota de furo varia em função do tipo de operação selecionado.

Notas de chanfro
As notas de chanfro contêm as medidas de distância e ângulo das arestas de modelo ou as linhas de esboço selecionadas.
As notas de chanfro podem ser associadas às arestas em ângulo das vistas e esboços. A aresta do chanfro e a aresta de referência de corpos, modelos ou esboços diferentes devem fazer parte da mesma vista.

Símbolos
Diversos tipos de símbolos estão disponíveis: textura de superfície, solda, tolerância geométrica, identificador de recurso, elemento de referência e símbolos de identificador de referência. Os símbolos são criados com ou sem uma chamada de detalhe.
Os símbolos de esboço são definidos em Recursos de desenho e são inseridos como símbolos padrão. Eles são utilizados para definir símbolos personalizados que não estão disponíveis no Autodesk Inventor.

Notas de vergadura
As notas de dobra adicionam informações de fabricação às dobras de chapa de metal, as curvas de contorno e as linhas centrais cosméticas. As notas de vergadura podem ser adicionadas em vistas de padrão plano ou em peças de chapa de metal.
Uma nota de dobra está associada com a linha central de dobra selecionada. A configuração padrão da nota de dobra fica situada sobre a linha de centro da dobra selecionada. O texto da dobra está restringido no ponto médio da linha de centro com um deslocamento definido pelo valor da opção Deslocamento de origem da área Estilo de cota.

Notas de puncionamento
Uma nota de puncionamento inclui dados relacionados com a operação de puncionamento: por exemplo a ID do puncionamento, o ângulo, a direção, a profundidade, a nota de quantidade, e assim por diante.
As notas de puncionamento podem ser adicionadas em vista de padrão plano ou em peças de chapa de metal.

Caterpillars
Os caterpillars de solda são utilizados para indicar as operações de solda nas vistas 2D. Você pode adicionar caterpillars de solda manualmente usando o comando Caterpillar. Adicione-os automaticamente em operações de solda usando Obter anotações de modelo > Obter anotações de solda no menu de contexto.

Preenchimento das extremidades
Os preenchimentos das extremidades são utilizados para representar a região preenchida indicando a extremidade de um cordão de solda. Você pode adicioná-los manualmente com o comando Preenchimento das extremidades ou de forma automática a partir dos modelos de solda usando Obter anotações de modelo > Obter anotação de solda.
Alterar o aspecto do preenchimento das extremidades através das propriedades de objeto.

Referências numéricas
As referências numéricas são identificadores de anotação que identificam os itens listados na lista de peças. As referências numéricas podem ser inseridas de forma individual ou automática em todos os componentes de uma vista de desenho. Você pode adicionar referências numéricas em uma peça personalizada após esta ser adicionada na lista de peças.
A forma e o valor do balão de referência podem ser sobrepostos com a opção Editar balão de referência no menu de contexto. É possível combinar os balões de referência para utilizar uma única linha de chamada utilizando as opções de anexar balão de referência do menu de contexto.

Listas de peças
As listas de peças exibem os dados salvos na lista de materiais da montagem. A lista de peças pode ser alterada para incluir diferentes colunas ou valores sobrepostos. Os dados da lista de materiais podem ser alterados no arquivo de desenho ou no arquivo de montagem.
Peças personalizadas podem ser adicionadas na lista de peças para incluir itens que não são modelados, como tinta ou graxa.

Tabelas
Você pode criar uma tabela geral, de configuração ou de dobra.
Você pode criar uma tabela geral ou de configuração.
Uma tabela geral pode incluir um número padrão de linhas e colunas, ou você pode personalizar seu tamanho. A tabela geral pode fazer referência a dados externos de arquivos ..xls, .xlsx ou .csv, ou você pode inserir qualquer outro tipo de dados que precise.
Em desenhos de iParts e iAssemblies, as linhas da tabela de configuração representam os membros da família. Você pode especificar as colunas a serem incluídas na tabela de configuração, como o status de exclusão e os valores que são diferentes entre os membros.
A tabela de dobra é criada se uma peça de chapa de metal é a origem da tabela. As tabelas de vergadura contêm informações sobre as vergaduras, como os ângulos e os raios.

Tabelas de furos
As tabelas de furos mostram o tamanho e a localização das operações de furo de um modelo. Quando se adiciona uma tabela de furos, cada furo recebe um identificador do furo e a linha correspondente se adiciona à tabela.
Você também pode adicionar marcas de centro, operações de puncionamento, e extrusão de corte cilíndrico em uma tabela de furos ao editar a tabela.

Tabelas e identificadores de revisões
As tabelas de revisões incluem informações sobre as alterações realizadas no projeto. As tabelas de revisões podem ser criadas para todo o arquivo de desenho ou para uma única folha.
Um identificador de revisão marca um objeto alterado pelas revisões do projeto. O nível de revisão padrão do identificador é a revisão mais recente na tabela. Para alterar o nível de revisão do identificador, utilize o menu de contexto.

Texto ou Texto da chamada de detalhe
Utilize Texto para adicionar notas gerais a um desenho. As notas gerais não estão anexadas a nenhuma vista, símbolo ou outro objeto no desenho.
Utilizar o Texto da chamada de detalhe para adicionar notas aos objetos em um desenho. Se você anexa a linha de chamada de detalhe em uma geometria em uma vista, a nota se moverá ou será excluída quando a vista for movida ou excluída.

Texto ou Texto da chamada de detalhe
Utilize Texto para adicionar notas gerais a um desenho. As notas gerais não estão anexadas a nenhuma vista, símbolo ou outro objeto no desenho.
Utilizar o Texto da chamada de detalhe para adicionar notas aos objetos em um desenho. Se você anexa a linha de chamada de detalhe em uma geometria em uma vista, a nota se moverá ou será excluída quando a vista for movida ou excluída.
