Para máquinas de torno/fresa, los bloques de herramienta sujetan el portaherramientas. Lo más probable es que el comercial de máquina herramienta proporcione los bloques de herramienta. Se encuentran en el fichero de diseño de la máquina.
Existen tres tipos básicos de bloques de herramientas:
Este bloque de herramienta sostiene herramientas de torneado a derechas y se monta en la cara de la torreta.
Este bloque de herramienta sostiene herramientas de torneado a izquierdas y está montado en la cara de la torreta.
- Torreta
- Bloque de herramienta
- Herramienta torno
Este bloque de herramienta sostiene herramientas de fresado paralelas al eje X y está montado en el D.E. de la torreta.
- Torreta
- Bloque de herramienta X (montado en D.E.)
- Herramienta X
Este bloque de herramienta sostiene herramientas de fresado paralelas al eje X y está montado en la cara de la torreta.
- Torreta
- Herramienta X no montada en el bloque D.E.
- Herramienta X
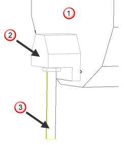
Este bloque de herramienta sostiene barras mandrinadoras y taladros paralelos al eje Z y puede montarse en el D.E. o la cara de la torreta.
- Torreta
- Bloque de herramienta de D.I o Z
- Herramienta y portaherramientas en Z
Se recomienda que haya un bloque de herramienta de torneado de D.E. para herramientas a izquierdas y otro para herramientas a derechas. Si utiliza herramientas de torneado a izquierdas, emplee bloques de herramienta a izquierdas.
Esta es una opción alternativa para herramientas rotativas en X y de eje Z: es posible montarlas en el D.E. o en la cara de la torreta. Si al introducir la ubicación de la herramienta en la torreta se ha configurado que esté en la cara de la torreta, es conveniente activar la opción de montado en cara también en este cuadro de diálogo. (Y viceversa, si se ha seleccionado montada en el D.E. como ubicación de la herramienta, especifique que el bloque de herramienta también está montado en el D.E.).
Si no se pueden montar herramientas en el D.E. de la torreta, no hay que definir bloques de herramienta montados en el D.E. Es necesario, no obstante, que haya al menos un bloque de herramienta sólido definido por cada tipo de herramienta que se va a simular. Por ahora no puede utilizar el mismo sólido para distintos tipos de bloques de herramienta.
Cuando no se han definido bloques de herramienta de torneado de D.E, FeatureCAM utiliza bloques de herramienta X montados en el D.E. para todas las herramientas de torneado de D.E. Así, y de manera general, es posible definir una máquina con únicamente dos bloques de herramienta, uno para herramientas X y de torneado de D.E. y otro para barras de mandrinado D.I. y otras herramientas Z.
Únicamente es necesario definir bloques de herramienta para la torreta principal. Para las subtorretas se utilizan automáticamente bloques de herramienta con las transformaciones pertinentes.