凡例コンポーネントの寸法設定について

内容を分かりやすくするために、個々の凡例コンポーネントに寸法を追加します。

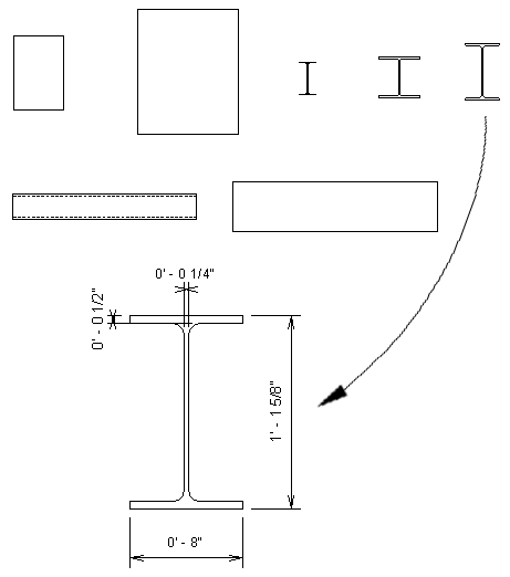
[寸法]ツールを使用して、寸法を個々の凡例コンポーネントに追加することができます。

凡例コンポーネント内のほとんどの線に寸法を記入することができます。ただし、壁、天井、床などのホスト コンポーネントに寸法を記入することはできません。同様に、凡例内のシステム ファミリ コンポーネントも寸法記入することはできません。

寸法記入した最初の窓の窓凡例

寸法記入した3 番目のワイドフランジの柱の構造コンポーネント凡例

凡例の例