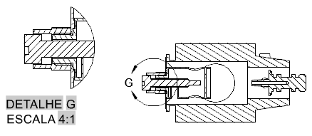
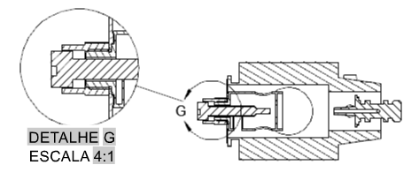
Cria uma vista de detalhe de uma parte de uma vista de desenho da documentação do modelo.
Uma vista de detalhe é uma vista de desenho que contém uma parte de outra vista de desenho e é ampliada em uma escala maior. É possível ter uma vista de detalhe circular ou retangular. Este comando só é suportado no layout e você deve ter uma vista de desenho.
Os prompts a seguir são exibidos.
Especifica a vista a partir da qual será criada a vista de detalhe.
Especifica o ponto central na vista principal para o limite da vista de detalhe.
Este painel só fica visível quando você cria uma vista de detalhe por meio de um modelo do Inventor. Ao criar vistas de detalhe, só é possível editar os valores da Vista de projeto.
Especifica as opções de exibição para a vista de detalhe.

Especifica a escala da vista de detalhe. Por padrão, a escala da vista de detalhe é o dobro da vista principal ou o próximo maior valor na Lista de escala no painel Aspecto da faixa de opções.
Especifica as opções de visibilidade a serem definidas para a vista de detalhe. As opções de visibilidade do objeto são específicas para cada modelo e é possível que algumas opções não estejam disponíveis no modelo selecionado e na vista do modelo criada.
Ativa ou desativa a visibilidade de arestas de interferência. As arestas de interferência ocorrem quando um ou mais corpos sólidos efetuam a intersecção entre si. Quando a visibilidade de arestas de interferência é ativada, o programa desenha uma linha onde os corpos sólidos se encontram.
Ativa ou desativa a visibilidade das arestas tangentes. As arestas tangentes marcam a transição entre uma superfície plana e uma aresta arredondada, normalmente vistas como arestas com concordância.
Ativa ou desativa a visibilidade das linhas de extensão de dobra de chapa metálica. Linhas de extensão de chapa metálica indicam a localização da transição sobre a qual uma dobra é articulada ou pregada em uma vista de chapa metálica planificada.
Esta opção está disponível somente se o modelo correspondente tem definida uma vista de chapa metálica planificada.
Ativa ou desativa a visibilidade das linhas de rosca em parafusos e orifícios roscados.
Ativa ou desativa a visibilidade da apresentação rastros. Apresentação rastros são linhas em uma vista explodida (em um arquivo de apresentação) que mostram a direção ao longo da qual os componentes são movidos na posição montada.
Especifica o objeto limite da vista de detalhe.
Se a inferência de restrição estiver ativada, o centro do limite de detalhe circular é associado a um ponto na vista principal. Se a inferência de restrição estiver desativada, o centro do círculo de limite não é associado a um ponto na vista principal.
Se a inferência de restrição estiver ativada, o canto do limite do retângulo de detalhe é associado a um ponto na vista principal. Se a inferência de restrição estiver desativada, o canto do limite do retângulo de detalhe não será associado a um ponto na vista principal.
O programa sempre determina, a partir do desenho, a próxima legenda de detalhe livre.
Especifica se a legenda da vista de detalhe é exibida ou não.




Especifica a legenda para o limite de detalhe e a vista de detalhe resultante.
Especifica se o texto da legenda da vista de detalhe é exibido.
Move a vista de detalhe, após ter sido colocada na área de desenho, sem obrigar você a sair do comando.
Volta para o prompt anterior ou finaliza o comando, dependendo da posição no ciclo do comando em que a opção aparece.