A caixa de diálogo Posição em relação à seção é usada para definir deslocamentos automáticos para barras de estrutura. Um deslocamento é determinado por um deslocamento de um eixo de barra para a dimensão extrema da seção. Abra a caixa de diálogo clicando em Posição da seção (ou Deslocamento de eixo) na caixa de diálogo Novo deslocamento.

Na caixa de diálogo, é possível determinar um deslocamento do eixo longitudinal de uma barra com relação às dimensões transversais da seção. Selecione a posição do eixo clicando no botão de seleção apropriado no desenho de seção. Uma descrição da posição da seção da barra é exibida sob o desenho da seção da barra, ou seja, Deslocamento do eixo e características da posição da seção que descreve o valor do deslocamento do eixo no sistema local:
Após clicar em OK, uma descrição do deslocamento do eixo também é exibida na caixa de diálogo Novo deslocamento.
Um exemplo de uma definição de deslocamento automática e os resultados da atribuição a uma barra de estrutura é mostrado na imagem a seguir.
O deslocamento automático foi atribuído à barra 2.
Um deslocamento relativo somente estará disponível após selecionar a definição de deslocamento no sistema de coordenadas local (a opção local). Ambas as definições de deslocamento podem ser combinadas no sistema local. Como resultado, é possível obter uma combinação do deslocamento do eixo por valores numéricos e relativos. No entanto, é impossível combinar um deslocamento relativo com um deslocamento definido no sistema de coordenadas global. Após a opção global ter sido selecionada, a posição da seção não estará disponível. A opção global somente estará disponível quando a posição do eixo neutro com relação a uma seção tiver sido selecionada (o eixo não é deslocado) para uma definição que aplica a opção local.
Para estruturas 2D, nem todas as posições de deslocamento estão disponíveis.
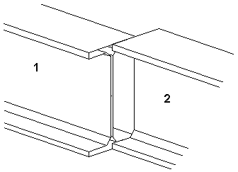
Para estruturas 3D, as orientações dos eixos do sistema local dependem de uma posição e da orientação de um elemento de barra; portanto, o mesmo deslocamento definido em um sistema local pode fornecer um efeito diferente no sistema global. Esse efeito é mostrado na imagem a seguir. As duas barras paralelas mostram uma orientação diferente (o início da barra é 1 e sua extremidade é 2). Essa definição de barra faz com que as orientações dos eixos locais x e y sejam opostas. Como resultado, o mesmo deslocamento por valor Vpy (ou seja, por metade da largura da seção) no sistema local resulta no deslocamento da seção oposta no sistema global.

Consulte também: