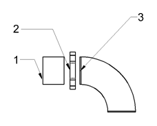
Соединители на фитингах или сегментах трубопровода определяются программой AutoCAD MEP 2023 toolset, которая добавляет подходящие стыки в соответствии с настройками трассировки элементов трубопровода. Добавляемое программой количество стыков зависит от типа присоединения. На иллюстрации представлен сегмент трубы и фитинги. Программа следующим образом определяет количество стыков:

Сегмент трубы (#1) принимает тип присоединения от охватывающего раструбного соединения (#2). Соединитель на фитинге "отвод" (#3) принимает тип присоединения от охватывающего раструбного соединения (#2), как указано в настройках трассировки.