Для рисования воздуховодов на видах фасада и разреза используются те же инструменты и методы, что и для рисования на видах в плане.
Видеоролик «Отображение осевых линий для воздуховода круглого сечения»
Однако изменение направления обзора компоновки может привести к непредвиденным результатам. На виде фасада/разреза воздуховод прорисовываются относительно плоскости вида фасада/разреза. При рисовании на виде фасада/разреза следует держать открытым 3D вид или вид в плане для просмотра результатов выполняемых действий. Кроме того, необходимо помнить следующее.
Ниже показаны примеры ориентации воздуховода, добавленного на видах фасада/разреза. Все существующие сегменты в этих примерах имеют размеры Ш 12" х В 8".
В первом примере показан горизонтальный воздуховод Ш 12" х В 8" на виде в плане.
На фасаде к этому воздуховоду добавляется горизонтальный воздуховод. По ориентации предварительного изображения воздуховода видно, что 12-дюймовая сторона (Ш) нового воздуховода представляет собой размер сверху вниз.
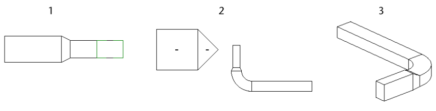
Ниже показан получившийся воздуховод на фасаде (1), виде в плане (2) и 3D виде (3). Воздуховод содержит переход между отводом и новым сегментом воздуховода.
При рисовании нового воздуховода вверх (или вниз) из воздуховода из предыдущего примера отображение перехода не требуется. Ширина и высота отображаются относительно фасада.
При присоединении рисуемого воздуховода к существующему воздуховоду на фасаде для получения желаемого результата может потребоваться задать высоту и ширину на панели параметров.
Новый воздуховод присоединяется к доступному соединителю, ближайшему к плоскости вида фасада (переднему плану). Доступный соединитель — это соединитель, который еще не соединен с другим соединителем и который находится в пределах фасада. (Единственной границей фасада является плоскость вида на переднем плане.)
В приведенном ниже примере оба соединителя на существующем воздуховоде (1) являются доступными. Горизонтальный сегмент, добавляемый на фасаде (2), присоединяется к соединителю, ближайшему к плоскости вида, как показано на виде в плане (3).
Два соединителя в секущем диапазоне
Оба соединителя в секущем диапазоне
Если в секущем диапазоне присутствует только один доступный соединитель, воздуховод присоединяется к нему. В приведенном ниже примере ближайший к плоскости вида соединитель уже занят (1). При добавлении на фасаде нового воздуховода (2) он добавляется в дальнем конце существующего воздуховода (3) и присоединяется к единственному доступному соединителю.
Только один доступный соединитель в секущем диапазоне
Только один соединитель в секущем диапазоне
Если в пределах секущего диапазона нет доступных соединителей, воздуховод присоединяется с помощью тройника на пересечении плоскости вида и сегмента. Осевая линия воздуховода размещается непосредственно на плоскости вида.
При отсутствии в секущем диапазоне доступных соединителей, как на виде в плане (1), новый воздуховод (добавленный на фасаде (2)) присоединяется с помощью тройника на пересечении плоскости фасада и существующего воздуховода (3). Осевая линия воздуховода размещается непосредственно на плоскости вида.
Единственный соединитель в секущем диапазоне уже занят
Два соединителя в секущем диапазоне, однако один соединитель уже занят
Все доступные соединители за пределами секущего диапазона
Новый воздуховод подсоединяется к доступному соединителю, ближайшему к плоскости вида разреза (расположенному на переднем плане). Доступный соединитель — это соединитель, который еще не соединен с другим соединителем и который находится в пределах вида.
В приведенном ниже примере оба соединителя на существующем воздуховоде (1) являются доступными. Горизонтальный сегмент, добавляемый на разрезе (2), присоединяется к соединителю, ближайшему к плоскости вида, как показано на виде в плане (3).
Если в секущем диапазоне присутствует только один доступный соединитель, воздуховод присоединяется к нему.
Хотя в следующем примере в секущий диапазон попадают оба конца существующего воздуховода, доступным является только один из них. Второй соединитель уже занят. Используется доступный соединитель, несмотря на то, что он находится дальше от плоскости вида.
Если все доступные соединители находятся за пределами секущего диапазона, воздуховод присоединяется с помощью тройника на пересечении плоскости вида и существующего воздуховода. Осевая линия воздуховода размещается непосредственно на плоскости вида.
Единственный соединитель в секущем диапазоне уже занят
В данном случае, когда воздуховод рисуется на разрезе (1), Revit автоматически добавляет короткий сегмент воздуховода между соединителем камеры переменного объема и отводом, как показано на виде в плане (2) и на 3D виде (3).
В приведенном ниже примере к воздуховоду на фасаде добавляется 2 вертикальных сегмента воздуховода. Исходный воздуховод показан на виде в плане (1), на соответствующем 3D виде (2) и на южном фасаде (3).
Полученные вертикальные сегменты показаны (слева направо) на виде в плане (1), на соответствующем 3D виде (2) и на южном фасаде (3).
В данном случае, когда воздуховод рисуется на южном фасаде (1), Revit автоматически добавляет короткий сегмент воздуховода между соединителем камеры переменного объема и отводом, как показано на виде в плане (2) и на 3D виде (3).
В следующем примере проекта требуется добавить воздуховоды для соединения сегментов на уровне 1 с воздуховодом на уровне 2.
На разрезе видно, что воздуховод на уровне 2 выровнен над воздуховодом на уровне 1. С помощью инструмента "Воздуховод" можно нарисовать вертикальный стояк от воздуховода на камере переменного объема на уровне 1 к существующему воздуховоду на уровне 2.
Воздуховод добавляется от соединителя на воздуховоде камеры переменного объема на уровне 1 до горизонтального воздуховода на уровне 2.
На связанном 3D виде показано собственно создание воздуховода. Получившийся воздуховод нарисован в виде вертикального сегмента и горизонтального сегмента для соединения с воздуховодом на уровне 2. Горизонтальный сегмент проходит перпендикулярно плоскости разреза.