矩形型腔
使用
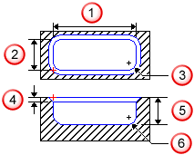
“矩形型腔”
特征可创建矩形型腔。
- 长度
- 宽度
- 拐角半径
- 平倒角
- 深度
- 底部半径
注:
对于使用非矩形曲线的型腔,请使用常规
“型腔”
特征。
若要这样做,请在
“长度”
和
“宽度”
字段中输入型腔直径,并在
“拐角半径”
字段中输入型腔半径。
本节内容
创建矩形型腔特征
矩形型腔的加工方式
矩形型腔:刀具选择
矩形型腔:进给和转速
矩形型腔:粗加工
矩形型腔:精加工
父主题:
2.5D 铣削特征