对于车/铣机床,夹持由刀架固定。刀架最有可能由机床供应商提供。因此,它们保存在机器设计文件中。
有三种基本类型的刀架:
该刀架可夹持右手车削刀具,并装夹在转塔的面上。
该刀架可夹持左手车削刀具,并装夹在转塔的面上。
— 转塔
- 刀架
- 车刀
该刀架可平行于 X 轴夹持铣削刀具,并装夹在转塔的外径上。
— 转塔
- X 刀架(外径装夹)
— X 刀具
该刀架可平行于 X 轴夹持铣削刀具,并装夹在转塔的面上。
— 转塔
- 未装夹在外径刀架上的 X 刀具
— X 刀具
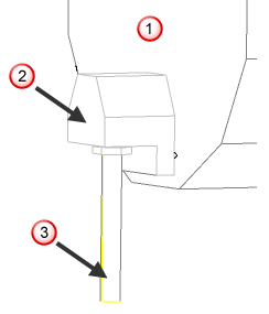
该刀架可平行于 Z 轴夹持镗杆和钻,并可装夹在转塔的外径或面上。
— 转塔
- 内径或 Z 刀架
- Z 刀具和夹持
您可能希望区分用于左手刀具和右手刀具的外径车削刀架。如果使用任何左手车削刀具,请添加左手刀架。
还有另一个用于 X 旋转和 Z 轴刀具的选项:可以将刀具装夹在转塔的外径或转塔的面上。如果在转塔上添加刀具位置时,指定的刀具位置位于转塔的面上,则在该对话框中也应使用面装夹选项。(反之亦然,如果外径装夹刀具用作刀具位置,请指定刀架也为外径装夹。)
如果无法将刀具装夹在转塔的外径上,则无需定义外径装夹刀架。但是,必须至少为要仿真的每种刀具类型定义一个实体刀架。当前,不能将相同实体用于不同类型的刀架。
如果未定义外径车削刀架,FeatureCAM 会尝试将外径装夹 X 刀架用于任何外径车削刀具。通过这种方式,通常可以定义仅具有两个刀架的机床,一个用于外径车削和 X 刀具,另一个用于内径镗杆和其他 Z 刀具。
您只需定义用于主转塔的刀架。具有相应变换的刀架将自动用于子转塔。