Erfahren Sie, wie Sie Betonfertigteil-Doppelwände teilen und die Segmentierung manuell anpassen.
Beim Befehl Teilen wird die Segmentierung auf Grundlage der im Dialogfeld Konfiguration angegebenen Segmentierungsparameter durchgeführt. Die Segmentierung basiert auf dem Gewicht und berücksichtigt die Dichte aller Schichten (einschließlich Luft).
Sie können die Segmentierung später manuell ändern. Gehen Sie wie folgt vor:
(Unterteilung bearbeiten).
Die Unterteilungslinie steuert die Position der Verbindung für alle drei Schichten.

(Teilelemente teilen).
Nach dem manuellen Teilen der Wand verwenden Sie den Befehl Teilen, um Betonfertigteil-Doppelwandbaugruppen anhand der Auswahl zu erstellen.

Für Eckverbindungen werden Position und Priorität der Schichten mit dem Befehl Wandverbindungen festgelegt. Sie können sowohl eckige als auch Gehrungseckverbindungen verwenden.
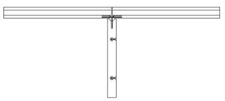
Für Wände mit Verbindungen in einem Winkel von 90 Grad, jedoch nicht in Ecken, wird mit dem Befehl Teilen eine T-Verbindung erstellt. Wenn bei einem bestimmten Schnittpunkt keine T-Verbindung vorhanden sein soll, können Sie Verbindung nicht zulassen verwenden, um die Wand an der Vorderseite des Hauptelements anzupassen.
| Segmentierungsergebnis | ||
|---|---|---|
| Verbundene Doppelwände |
|
|
| Nicht verbundene Doppelwände |
|
|
| Verbundene Doppelwand und Massivwand |
|
|
| Nicht verbundene Doppelwand und Massivwand |
|
|
