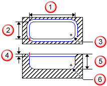
Use the Rectangular Pocket feature to create a rectangular pocket.

— Length
— Width
— Corner radius
— Chamfer
— Depth
— Bottom radius
To do so, enter the pocket diameter in both the length and width fields, and enter the Pocket radius in the corner radius field.