Acerca de las cotas asociativas

Las cotas pueden ser asociativas, no asociativas o descompuestas. Las cotas asociativas se adaptan a los cambios efectuados en los objetos que miden.

La asociatividad de las cotas define la relación entre los objetos geométricos y las cotas que proporcionan la distancia y los ángulos. Se proporcionan tres tipos de asociatividad entre objetos geométricos y cotas.

Puede determinar si una cota es o no asociativa seleccionando la cota y realizando una de las siguientes acciones:

Una cota se considera parcialmente asociativa solo cuando un extremo de la cota está asociado a un objeto geométrico. Puede utilizar el comando REASOCIARCOTA para volver a asociar las cotas no asociativas.

Monitor de anotación

La asociación entre una cota y un objeto puede perderse por varios motivos. Por ejemplo:

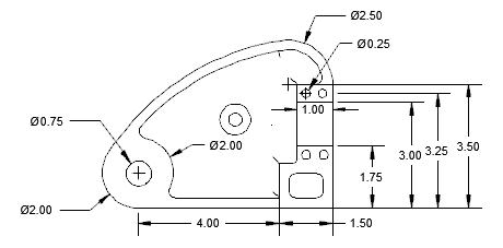
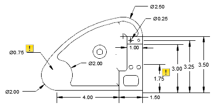
Puede utilizar el monitor de anotación para realizar un seguimiento de la asociatividad de las directrices. Cuando el monitor de anotación está activado, indica cotas que han perdido la asociatividad al visualizar un distintivo en la cota.

Antes de un evento de actualización

Después de un evento de actualización

Al hacer clic en un distintivo, se abre un menú que contiene las opciones específicas para la anotación disociada correspondiente. El menú de una cota que ha perdido la asociatividad proporciona acceso a los comandos REASOCIARCOTA y BORRA.

Situaciones especiales y limitaciones

Es posible que sea necesario utilizar REGENCOTA para actualizar las cotas asociativas tras encuadrar o utilizar el zoom, tras abrir un dibujo modificado con una versión anterior o tras abrir un dibujo con referencias externas previamente modificadas.

Las cotas asociativas admiten la mayoría de los tipos de objeto que normalmente se acotarían. No admiten objetos como

Las cotas asociadas a las vistas de dibujo del modelo pueden perder su asociatividad si se abre el dibujo y se vuelve a guardarse en una versión de AutoCAD anterior a la 2012.