Utilice los mismos métodos y herramientas que utiliza en las vistas de plano para dibujar redes de conductos en las vistas de alzado o en sección.
Vídeo: Visualizar líneas de centro de un conducto redondo
Sin embargo, debido a que está visualizando el diseño desde una perspectiva diferente, los resultados no son siempre los esperados. La red de conductos dibujada en una vista de alzado o en sección se dibuja en relación con el plano de la vista. Al dibujar en una vista de alzado o en sección, mantenga una vista 3D o una vista de plano visible para ver los resultados de las acciones. A continuación, se indican algunos aspectos que se deben tener en cuenta:
grupo Herramientas de colocación
Heredar tamaño para obtener el tamaño de la red de conductos existente.
En los ejemplos siguientes se muestran la orientación de la red de conductos añadida a las vistas de alzado y en sección. En estos ejemplos, todos los segmentos presentan 12" An. x 8" Al.
En el primer ejemplo, un conducto horizontal de 12" An. X 8" Al. se muestra en una vista de plano.


En la vista de alzado, se añade un conducto horizontal al conducto. En la vista previa del conducto se muestra que la orientación del nuevo conducto presenta una cara de 12" (An.) que aparece como cota de la parte superior a la inferior.

La red de conductos resultante se muestra debajo de la vista de alzado (1), la vista de plano (2) y la vista 3D (3). Esta red contiene una transición entre el codo y el nuevo segmento de conducto.


Para dibujar el nuevo conducto hacia arriba (o hacia abajo) a partir del conducto del ejemplo anterior, no es necesario que se muestre una transición. La anchura y la altura se muestran en relación con la vista de alzado.

Al conectar a un conducto existente en una vista de alzado, es posible que sea necesario especificar la anchura y la altura en la barra de opciones para lograr el resultado deseado.
El nuevo conducto se conectará a los conectores disponibles más cercanos al plano de la vista (en primer plano) para la vista de alzado. Un conector disponible es uno que no está conectado a otro conector y está dentro de los límites de la vista de alzado. (El único contorno de una vista de alzado es el plano de la vista en primer plano).
En el siguiente ejemplo, ambos conectores de un conducto existente (1) están disponibles. El segmento horizontal añadido en la vista de alzado (2) se conecta al conector más cercano al plano de la vista, como se muestra en la vista de plano (3).

Dos conectores dentro del rango de vista

Ambos conectores dentro del rango de vista
Si solo hay un conector disponible dentro del rango de vista, se utilizará esa conexión. En el siguiente ejemplo, ya se utiliza el conector más cercano al plano de la vista (1). Cuando el nuevo conducto se añade a la vista de alzado (2), este se añade en el extremo final de la red de conductos existente (3) mediante el único conector disponible.

Solo un conector disponible dentro del rango de vista

Solo un conector dentro del rango de vista
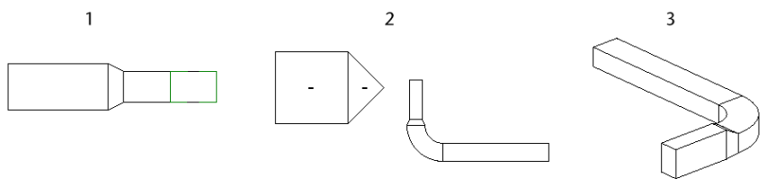
Si no hay disponibles conectores dentro del rango de vista, el conducto se conectará con una T en la intersección del plano de la vista y el segmento. El eje del conducto se coloca exactamente sobre el plano de la vista.
Si no hay disponible ningún conector dentro del rango de vista, como en la vista de plano (1), el nuevo conducto añadido a la vista de alzado (2) se conecta a una T en la intersección del plano de la vista de alzado y la red de conductos existente (3). El eje del conducto se coloca exactamente sobre el plano de la vista.

El único conector dentro del rango de la vista ya está en uso

Dos conectores dentro del rango de la vista, pero un conector ya está en uso

Todos los conectores disponibles fuera del rango de la vista
El nuevo conducto se conecta a los conectores disponibles más cercanos al plano de la vista (en segundo plano) para la vista en sección. Un conector disponible es uno que no está conectado a otro conector y está dentro de los límites de la vista en sección.
En el siguiente ejemplo, están disponibles ambos conectores de un conducto existente (1). El segmento horizontal añadido en la vista en sección (2) se conecta al conector más cercano al plano de la vista, como se muestra en la vista de plano (3).
Si solo hay un conector disponible dentro del rango de la vista, se utiliza ese conector.
Aunque ambos extremos del conducto existente se encuentran dentro del rango de vista en el siguiente ejemplo, solo uno de ellos se encuentra disponible. El otro conector ya está en uso. Se utiliza el conector disponible, aunque esté más alejado de la vista de plano.
Si todos los conectores disponibles están fuera del rango de vista, el conducto se conectará a una T en la intersección del plano de la vista y la red de conductos existente. El eje del conducto se coloca exactamente sobre el plano de la vista.

El único conector dentro del rango de vista, aunque dicho conector ya está en uso.

En este caso, cuando el conducto se dibuja en la vista en sección (1), Revit añade un segmento de conducto corto entre el conector del sistema de ventilación/aire acondicionado y el codo, tal y como se muestra en la vista de plano (2) y la vista 3D (3).

En el siguiente ejemplo, dos segmentos de conducto verticales se añaden a una red de conductos en una vista de alzado. La red de conductos original se muestra en una vista de plano (1), en la vista 3D asociada (2) y en la vista de alzado orientada al sur (3).

Los segmentos verticales resultantes aparecen (de izquierda a derecha) como se muestran en la vista de plano (1), en la vista 3D asociada (2) y en la vista de alzado orientada al sur (3).


En este caso, cuando el conducto se dibuja en la vista de alzado (1), Revit añade un segmento de conducto corto entre el conector del sistema de ventilación/aire acondicionado y el codo, tal y como se muestra en la vista de plano (2) y la vista 3D (3).

En el siguiente proyecto de ejemplo, desea añadir una red de conductos para conectar los segmentos del nivel 1 a la red de conductos del nivel 2.

En la vista en sección, los conductos del nivel 2 parecen estar alineados por encima de la red de conductos del nivel 1. Mediante la herramienta de conductos, puede dibujar una contrahuella vertical desde la red de conductos en el sistema de ventilación/aire acondicionado del nivel 1 hasta la red de conductos existente del nivel 2.
La red de conductos se añade desde el conector de la red de conductos en el sistema de ventilación/aire acondicionado del nivel 1 a la red de conductos horizontal del nivel 2.

En la vista 3D asociada, se muestra cómo se crea realmente la red de conductos. La red de conductos resultante se dibuja con un segmento vertical y otro horizontal para establecer la conexión a la red de conductos del nivel 2. El segmento horizontal se añade perpendicular al plano de la vista en sección.
