Onglet Contour de détail (boîte de dialogue Modifier le style de vue de détail – Jeu d’outils AutoCAD Mechanical)

Définit les propriétés de la ligne de contour de détail, de l'arête de modèle et de la ligne de connexion des vues de détail.

Liste d'options

Les options suivantes s'affichent :

Contour de détail

Couleur de ligne
Définit la couleur de la ligne de contour de détail. Si vous cliquez sur Sélectionner la couleur (en bas de la liste Couleur), la boîte de dialogue du même nom s'ouvre. Vous pouvez également entrer un nom ou un numéro de couleur.
Remarque : Si vous sélectionnez la couleur intitulée "Par NomDelaNormedeDessinCourante", la couleur de la ligne de contour de détail est obtenue à partir de la boîte de dialogue Configuration des propriétés d'objet. Cette option est uniquement disponible pour les styles de vue de détail d'Jeu d’outils AutoCAD Mechanical.
Type de ligne
Définit le type de ligne de la ligne de contour de détail. Si vous cliquez sur Autre, la boîte de dialogue Sélectionner un type de ligne s'affiche.
Remarque : Si vous sélectionnez le type de ligne intitulé "Par NomDeLaNormeDeDessinCourante", le type de ligne est obtenu à partir de la boîte de dialogue Configuration des propriétés d'objet. Cette option est uniquement disponible pour les styles de vue de détail d'Jeu d’outils AutoCAD Mechanical.
Epaisseur de ligne
Définit l'épaisseur de ligne de contour de détail.
Remarque : Si vous sélectionnez l'épaisseur intitulée "Par NomDelaNormedeDessinCourante", l'épaisseur de ligne de contour de détail est obtenue à partir de la boîte de dialogue Configuration des propriétés d'objet. Cette option est uniquement disponible pour les styles de vue de détail d'Jeu d’outils AutoCAD Mechanical.

Arête du modèle

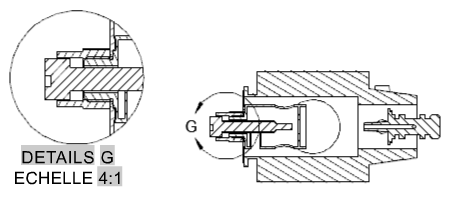
Lissage
Définit les lignes de coupe des modèles dans les vues de détail à lisser.
appliqué aux vues de détail de la documentation du modèle appliqué aux vues de détail AMDETAIL
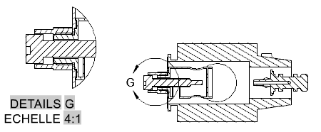
Lisse avec cadre
Affiche une bordure autour des vues de détail et définit les lignes de coupe des modèles affichés dans les vues de détail à lisser.
appliqué aux vues de détail de la documentation du modèle appliqué aux vues de détail AMDETAIL
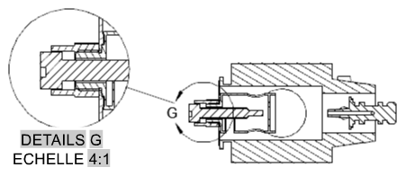
Lisse avec ligne de connexion
Affiche une ligne de connexion entre la bordure de détail et le contour de la vue de détail. Affiche en outre une bordure autour des vues de détail et définit les lignes de coupe des modèles affichés dans les vues de détail à lisser.
appliqué aux vues de détail de la documentation du modèle appliqué aux vues de détail AMDETAIL
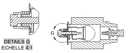
Irrégulière
Définit des lignes de coupe irrégulières pour les modèles affichés dans les vues de détail.
appliqué aux vues de détail de la documentation du modèle appliqué aux vues de détail AMDETAIL
Remarque : Des vues de détail AMDETAIL ne prennent pas en charge des lignes de coupe irrégulières. Lorsque cette option est sélectionnée, les vues de dessin AMDETAIL se comportent comme si l'option Lissage était activée.
Couleur de ligne
Définit la couleur de la bordure de détail. Si vous cliquez sur Sélectionner la couleur (en bas de la liste Couleur), la boîte de dialogue du même nom s'ouvre. Vous pouvez également entrer un nom ou un numéro de couleur.
Remarque : Si vous sélectionnez la couleur intitulée "Par NomDelaNormedeDessinCourante", la couleur de ligne de la bordure de détail est obtenue à partir de la boîte de dialogue Configuration des propriétés d'objet. Cette option est uniquement disponible pour les styles de vue de détail d'Jeu d’outils AutoCAD Mechanical.
Type de ligne
Définit le type de ligne de la bordure de détail. Si vous cliquez sur Autre, la boîte de dialogue Sélectionner un type de ligne s'affiche.
Remarque : Si vous sélectionnez le type de ligne intitulé "Par NomDelaNormedeDessinCourante", le type de ligne de la bordure de détail est obtenu à partir de la boîte de dialogue Configuration des propriétés d'objet. Cette option est uniquement disponible pour les styles de vue de détail d'Jeu d’outils AutoCAD Mechanical.
Epaisseur de ligne
Définit l'épaisseur de ligne de la bordure de la vue de détail.
Remarque : Si vous sélectionnez le type de ligne intitulé "Par NomDelaNormedeDessinCourante", l'épaisseur de ligne de la bordure de détail est obtenue à partir de la boîte de dialogue Configuration des propriétés d'objet. Cette option est uniquement disponible pour les styles de vue de détail d'Jeu d’outils AutoCAD Mechanical.

Ligne de connexion

Couleur de ligne
Définit la couleur de la ligne reliant la bordure de détail et le contour de la vue de détail. Si vous cliquez sur Sélectionner la couleur (en bas de la liste Couleur), la boîte de dialogue du même nom s'ouvre. Vous pouvez également entrer un nom ou un numéro de couleur.
Remarque : Si vous sélectionnez la couleur intitulée "Par NomDelaNormedeDessinCourante", la couleur de la ligne de connexion est obtenue à partir de la boîte de dialogue Configuration des propriétés d'objet. Cette option est uniquement disponible pour les styles de vue de détail d'Jeu d’outils AutoCAD Mechanical.
Type de ligne
Définit le type de ligne de la ligne de connexion. Si vous cliquez sur Autre, la boîte de dialogue Sélectionner un type de ligne s'affiche.
Remarque : Si vous sélectionnez le type de ligne intitulé "Par NomDelaNormedeDessinCourante", le type de ligne de la ligne de connexion est obtenu à partir de la boîte de dialogue Configuration des propriétés d'objet. Cette option est uniquement disponible pour les styles de vue de détail d'Jeu d’outils AutoCAD Mechanical.
Epaisseur de ligne
Définit l'épaisseur de ligne de la ligne de connexion.
Remarque : Si vous sélectionnez le type de ligne intitulé "Par NomDelaNormedeDessinCourante", l'épaisseur de ligne de la ligne de connexion est obtenue à partir de la boîte de dialogue Configuration des propriétés d'objet. Cette option est uniquement disponible pour les styles de vue de détail d'Jeu d’outils AutoCAD Mechanical.

Rétablissement des valeurs par défaut

Rétablit les valeurs par défaut de la norme de dessin et la révision du style. Ce bouton est uniquement visible pour les styles de vue de détail d'Jeu d’outils AutoCAD Mechanical.