Les méthodes et les outils employés pour dessiner des canalisations dans des vues d'élévation sont identiques à ceux qui sont utilisés dans les vues en plan. Toutefois, comme vous observez la présentation selon une perspective différente, vous pouvez obtenir des résultats inattendus. Dans une vue d'élévation, les canalisations sont dessinées par rapport au plan de la vue. Lorsque vous dessinez des canalisations dans une vue d'élévation, il est préférable de conserver une vue 3D ou une vue en plan visible afin d'observer l'effet des actions réalisées. Tenez compte des remarques suivantes :
La nouvelle canalisation se connecte au connecteur disponible le plus proche du plan de la vue d'élévation (au premier plan). Un connecteur est disponible s'il n'est connecté à aucun autre connecteur et qu'il se trouve dans la plage de la vue d'élévation. (La seule limite d'une vue d'élévation est le plan de la vue au premier plan).
Dans l'exemple suivant, les deux connecteurs d'une canalisation existante (1) sont disponibles. Le segment horizontal ajouté à la vue d'élévation (2) est connecté au connecteur le plus proche du plan de la vue, comme indiqué dans la vue en plan (3).
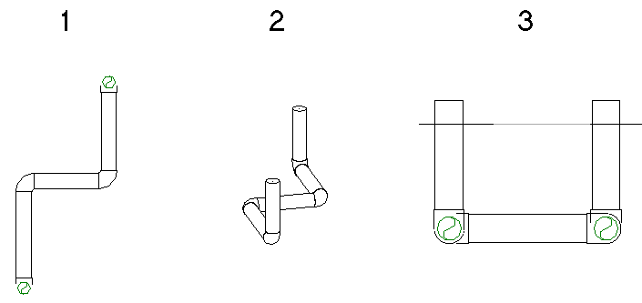
Deux connecteurs se trouvent dans la plage de la vue.
Si un seul connecteur est disponible dans la plage de la vue, ce connecteur est utilisé. Dans l'exemple suivant, le connecteur le plus proche du plan de la vue est déjà utilisé (1). Lorsque la nouvelle canalisation est ajoutée dans la vue d'élévation (2), elle est ajoutée à l'extrémité des canalisations existantes (3), à l'aide du seul connecteur disponible.
Un seul connecteur est disponible dans la plage de la vue.
Si aucun connecteur n'est disponible dans la plage de la vue, la nouvelle canalisation est connectée à l'aide d'un té, à l'intersection du plan de la vue d'élévation et de la canalisation existante. L'axe de la canalisation se place précisément sur le plan de la vue.
Dans l'exemple suivant, deux segments de canalisation verticaux sont ajoutés à des canalisations dans une vue d'élévation. La canalisation d'origine est présentée dans une vue en plan (1), dans la vue 3D associée (2) et dans la vue d'élévation sud (3).
Les segments verticaux obtenus sont présentés (de droite à gauche) tels qu'ils s'affichent dans la vue en plan (1), dans la vue 3D associée (2) et dans la vue d'élévation sud (3).
Dans ce cas, lorsque la canalisation est dessinée dans la vue d'élévation sud (1), Revit ajoute un court segment de canalisation entre le connecteur de la chaudière et le coude, comme indiqué dans la vue en plan (2) et dans la vue 3D (3).