Informazioni sulle quote associative

Le quote possono essere associative, non associative o esplose. Le quote associative si adattano alle modifiche apportate agli oggetti geometrici da esse misurati.

L'associatività delle quote definisce la relazione tra gli oggetti geometrici e le quote che ne indicano le distanze e gli angoli. Sono disponibili tre tipi di associatività tra gli oggetti geometrici e le quote.

È possibile determinare se una quota è associativa o non associativa selezionandola, quindi eseguendo una delle seguenti operazioni:

Una quota viene considerata parzialmente associativa se una sola delle sue estremità è associata ad un oggetto geometrico. È possibile utilizzare il comando DIMRIASSOCIA per riassociare le quote non associative.

Controllo annotazioni

L'associatività tra una quota e un oggetto può essere persa per diversi motivi. Ad esempio:

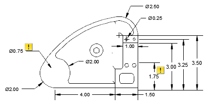
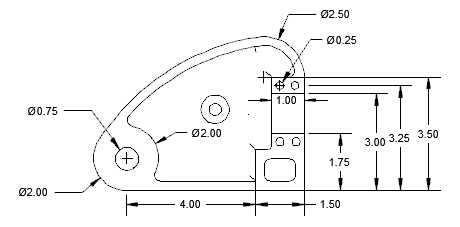
È possibile utilizzare Controllo annotazioni per tenere traccia dell'associatività della direttrice. Quando Controllo annotazioni è attivo, le quote che perdono l'associatività vengono contrassegnate da un flag.

Prima dell'evento di aggiornamento

Dopo l'evento di aggiornamento

Se si fa clic su un flag, viene visualizzato un menu contenente le opzioni specifiche per la corrispondente annotazione dissociata. Il menu relativo a una quota che ha perso l'associatività consente di accedere ai comandi DIMRIASSOCIA e CANCELLA.

Condizioni e limitazioni speciali

Dopo aver eseguito una panoramica o uno zoom o dopo aver aperto un disegno modificato con una release precedente o con riferimenti esterni modificati, potrebbe essere necessario utilizzare il comando DIMRIGEN per aggiornare le quote associative.

Le quote associative supportano la maggior parte dei tipi di oggetto da quotare. Tuttavia, non supportano oggetti quali

Le quote associate alle viste di disegno del modello potrebbero perdere l'associatività se disegno viene aperto e salvato nuovamente in una release di AutoCAD anteriore alla 2012.