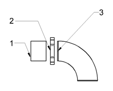
Set di strumenti AutoCAD MEP 2024 determina i connettori di un raccordo o segmento di tubo e aggiunge i giunti appropriati come specificato nelle preferenze di percorso per le parti di tubo. Il numero di giunti inseriti dipende dal tipo di connessione. Nella seguente figura vengono illustrati un segmento e un raccordo di tubo. Il software determina il numero di giunti nel modo indicato di seguito:

Il segmento di tubo (#1) eredita il tipo di connessione dall'innesto femmina scanalato (#2). Il connettore del raccordo a gomito (#3) eredita il tipo di connessione dall'innesto femmina scanalato (#2), come specificato nelle preferenze di percorso.