도면의 기존 평행 선형 및 각도 치수는 같은 간격으로 조정되거나 각각에 대해 치수선에서 정렬되도록 자동으로 조정할 수 있습니다.
DIMBASELINE 명령은 DIMDLI 시스템 변수를 사용하여 치수를 같은 간격으로 작성하지만, 치수가 배치되고 나면 시스템 변수 값이 변경되어도 치수 간격에 영향을 미치지 않습니다. 문자 크기를 변경하거나 치수에 대한 축척을 조정할 경우, 해당 문자와 축척이 원래 위치에 남아 있어서 치수선과 문자가 겹치는 문제를 야기할 수 있습니다.
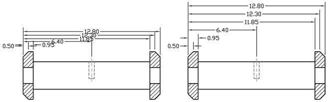
DIMSPACE 명령을 사용하여 서로 겹치거나 동일한 간격으로 배치되지 않은 선형 치수와 각도 치수의 간격을 조절할 수 있습니다. 선택된 치수는 선형 또는 각도이고, 같은 유형(회전 또는 정렬)이며, 서로 평행하거나 중심을 공유하고, 서로의 치수보조선에 있어야 합니다. 간격두기 값을 0으로 하여 선형 및 각도 치수를 정렬할 수도 있습니다.
다음 그림은 같은 간격으로 배치되지 않은 평행 선형 치수와 DIMSPACE 명령을 사용하여 같은 간격으로 배치된 평행 선형 치수를 차례로 보여줍니다.
