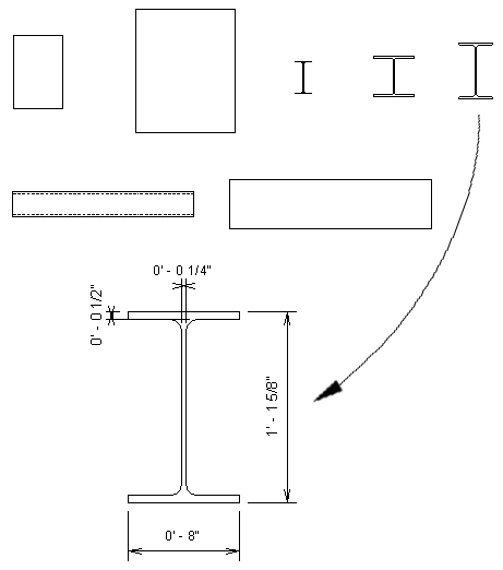
Można dodać wymiary do indywidualnych komponentów legendy, aby była ona bardziej czytelna.
Można dodać wymiary do indywidualnych komponentów legendy, używając narzędzia Wymiar.
Można dodać wymiary względem większości linii elementu legendy. Jednak nie można dodać wymiarów względem komponentów nadrzędnych, takich jak ściany, stropy i posadzki. Analogicznie nie można wymiarować elementów rodziny wewnątrz legendy.


