O conjunto de ferramentas do AutoCAD Mechanical fornece onze tipos de símbolos que podem ser inseridos em um desenho.
As revisões suportadas são:
A standard de desenho define o comportamento e as características de cada símbolo. Para alterar as características, edite os elementos da standard. É possível acessar os elementos da standard na guia AM:Normas da caixa de diálogo Opções.
Anexar comportamento
Durante a criação de um símbolo, é possível anexá-lo a um objeto. A partir desse momento, ao mover o objeto, o símbolo é movido com este.
Os símbolos podem obter desassociada de uma objeto quando o ponto de anexo já não é mais válida. Por exemplo

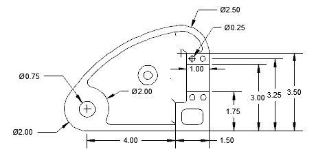
Antes de atualizar o evento

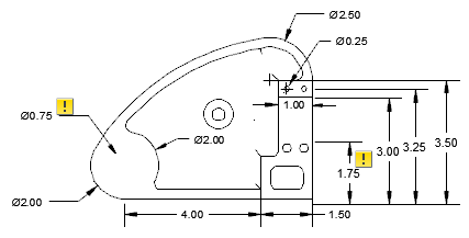
Após atualizar o evento
Se o monitor de anotação está ativado, ele procura as anotações que são separadas e realça a separada anotações com um sinal. Clicar no sinal exibe um menu que contém as opções específicas para a anotação.
Comportamento de criação da linha de chamada
Se você anexa um símbolo a um arco ou uma spline, o símbolo força que o primeiro segmento da linha de chamada seja perpendicular ao objeto anexado. É possível substituir este comportamento pressionando a tecla de Liga/Desl do modo ortogonal da linha de chamada do símbolo (Shift + F, por padrão) à medida que você move a mira.
Se você anexa um símbolo a uma linha, a maioria dos símbolos não forçam que o primeiro segmento da linha de chamada seja perpendicular ao objeto anexado. Para os símbolos que não apresentam esse comportamento, se você ativar o rastreamento de snap a objeto, o conjunto de ferramentas do AutoCAD Mechanical exibirá caminhos de alinhamento perpendiculares para rastrear a eles.
Comportamento de edição do manipulador do ponto inicial da linha de chamada
Se você arrastar o ponto inicial de uma linha de chamada, o símbolo inteiro será movido.

Se desejar substituir esse comportamento, pressione a tecla para Alternar linha de chamada de símbolo para modo de esticamento (SHIFT + G, por padrão) à medida que você move a mira. Neste modo, o símbolo não se move. Em vez disso, o primeiro segmento da linha de chamada é esticado.

Bibliotecas de símbolos
Alguns símbolos permitem salvar de forma completa os símbolos configurados em uma biblioteca. A seguir, é possível inseri-los diretamente em um desenho da faixa de opções, eliminando a necessidade de especificar valores, ou especificar somente os valores provenientes do símbolo salvo.
Editar símbolos
Para editar o texto de um símbolo que já está inserido em um desenho, dê um duplo clique no símbolo. Ao dar um duplo clique na linha de chamada, é exibida a guia linha de chamada da caixa de diálogo de configurações do símbolo.
| Símbolo | Primeiro segmento da linha de chamada perpendicular ao arco anexado | Primeiro segmento da linha de chamada perpendicular à linha anexada | Biblioteca de símbolos | Rastreadas pelo monitor de anotação? | Suporte Shift + G | 
|---|---|---|---|---|---|
| Identificador de referência | Sim | Sim | Sim | ||
| Referência parcial | Sim | ||||
| Aresta | Sim | Sim | Sim | Sim | |
| Tolerância geométrica | Sim | Sim | Sim | Sim | Sim | 
| Identificador de operação | Sim | Sim | Sim | Sim | |
| Nota da linha de chamada | Sim | Sim | Sim | Sim | |
| Conicidade e inclinação | Sim | Sim | Sim | ||
| Acabamento superficial | Sim | Sim | Sim | Sim | |
| Solda | Sim | Sim | Sim | Sim | |
| Marcado/Carimbo | Sim | Sim | Sim | Sim | |
| Junta fixa | Sim | Sim | Sim | Sim |