Para uma máquina de torno/fresa, o suporte é mantido por blocos de ferramenta. Os blocos de ferramenta são possivelmente fornecidos pelo seu revendedor da máquina ferramenta. Sendo assim, são armazenados no arquivo de design da máquina.
Existem três tipos básicos de bloco de ferramenta:
Esse bloco ferramenta suporta ferramentas de torneamento de corte à direita e é montado na face da torre.
Esse bloco ferramenta suporta ferramentas de torneamento de corte à esquerda e é montado na face da torre.
- Torre
- Bloco ferramenta
- Ferramenta de torno
Esse bloco ferramenta suporta ferramentas de fresamento paralelas ao eixo X e é montado no DE da torre.
- Torre
- Bloco de ferramenta X (montado no DE)
- Ferramenta X
Esse bloco ferramenta suporta ferramentas de fresamento paralelas ao eixo X e é montado na face da torre.
- Torre
- Ferramenta X não montada no bloco DE
- Ferramenta X
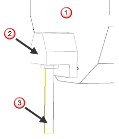
Esse bloco ferramenta suporta barras de broquear e ferramentas de furação paralelas ao eixo Z e pode ser montado no DE ou na face da torre.
- Torre
- Bloco ferramenta DI ou Z
- Suporte e ferramenta Z
Você pode desejar diferenciar entre um bloco de ferramenta de torneamento DE para ferramenta de corte à esquerda e uma ferramenta de corte à direita. Se você utilizar qualquer ferramenta de torneamento de corte à esquerda, adicione um bloco de ferramenta esquerdo.
Existe outra opção para ferramentas X-rotativas e eixo-Z: você pode montá-las no DE da torre ou na face da torre. Se, ao adicionar uma posição de ferramenta na torre, você especificou que a posição da ferramenta estava na face da torre, deve utilizar a opção montado na face aqui nesse diálogo também. (O inverso também é verdadeiro, se a ferramenta montada no DE foi utilizada como posição da ferramenta, especifique que o bloco de ferramenta também é montado no DE).
Se você não puder montar uma ferramenta no DE da torre, não precisa definir um bloco de ferramenta montado no DE. Você precisa, no entanto, ter pelo menos um sólido bloco de ferramenta definido para cada tipo de ferramenta que você pretende simular. Atualmente, você não pode utilizar o mesmo sólido para diferentes tipos de blocos de ferramenta.
Se você não definir um bloco de ferramenta de torneamento-DE, o FeatureCAM tenta utilizar um bloco de ferramenta X montado no DE para qualquer ferramenta de torneamento DE. Desse modo, você pode definir geralmente uma máquina com apenas dois blocos de ferramenta, um para ferramentas X e torneamento DE, e outro para barras de broquear DI e outras ferramentas Z.
Você só precisa definir blocos de ferramenta para a torre principal. Blocos de ferramenta com transformações apropriadas são utilizados para a torre secundária automaticamente.