O símbolos de solda são específicas da anotação da vista. Eles somente aparecem nas vistas nas quais você os adiciona.
- Clique na guia Anotação
painel Símbolo
(Símbolo).
- No Seletor de tipo, selecione o símbolo de solda apropriado.
É possível inserir os seguintes tipos de símbolos de solda:
- Fillet
- Bisel curvado
- Chanfro
- V
- Posterior
- V curvado
- J
- Ranhura
- Quadrado
- U
- Clique na área de desenho onde deseja que o símbolo apareça.
- Clique em Modificar, e a seguir selecione o símbolo de solda.
- Na paleta Propriedades, especifique as propriedades desejadas para o símbolo de solda.
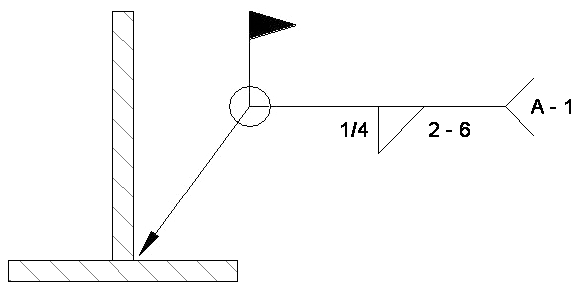
É possível especificar as seguintes propriedades de símbolo de solda
- Tipo de símbolo superior, tamanho e comprimento
- Tipo de símbolo inferior, tamanho e comprimento
- Tipo de símbolo de contorno
- Configuração de chamada de detalhe
- Exibição da extremidade final e da nota de extremidade final
- Solda geral e exibição do campo do símbolo de solda
- Orientação esquerda ou direita do símbolo
Também é possível editar vários parâmetros do símbolo de solda ao selecionar o símbolo de solda e, em seguida, clicar no valor apropriado de cor azul. Insira o valor desejado na caixa de edição e pressione a tecla Enter.
Você também pode criar uma família de símbolo de solda no Editor de família e carregá-la em seu projeto. Para criar a família de símbolo de solda, use o modelo Anotações genéricas. Quando se cria uma família de símbolo de solda, observe que somente é possível visualizá-la em uma vista. Como com qualquer outra anotação, ela é específica da vista.