标注可以是关联的、无关联的或分解的。关联标注根据所测量的几何对象的变化而进行调整。
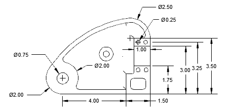
标注关联性定义几何对象和为其提供距离和角度的标注间的关系。几何对象和标注之间有三种关联性。
通过选择标注和执行以下操作之一,可以确定标注是否关联:
如果只是标注的一头与几何对象关联,该标注也被认为是部分关联的。可以使用 DIMREASSOCIATE 命令来重新关联非关联标注。
出于多种原因,标注和对象之间的关联性可能会丢失。例如:
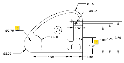
您可以使用注释监视器来跟踪引线关联性。当注释监视器处于启用状态时,将通过在标注上显示标记来标记失去关联性的标注。

更新事件前

更新后事件
单击标记将显示一个菜单,其中包含各种选项,它们特定于相应的已解除关联的标注。失去关联性的标注上的菜单可用来访问 DIMREASSOCIATE 和 ERASE 命令。
在以下情况下可能需要使用 DIMREGEN 更新关联标注:平移或缩放后、打开使用早期版本修改的图形后或打开已修改外部参照的图形后。
关联标注支持大多数用户希望标注的对象类型。它们不支持以下对象
如果在 AutoCAD 2012 之前的版本中打开并重新保存图形,则与模型工程视图相关联的标注可能会失去其关联性。