Při kreslení potrubí v bokorysném pohledu a v řezu lze použít stejné nástroje a metody jako při kreslení v půdorysných pohledech.
Videofilm: Zobrazení os u kulatého potrubí
Protože ale zobrazujete rozvržení z jiné perspektivy, výsledky někdy nebudou odpovídat očekávání. Potrubí kreslené v bokorysném pohledu nebo v pohledu řezu je vedeno vzhledem k rovině bokorysného pohledu nebo pohledu řezu. Při kreslení v bokorysném pohledu nebo pohledu řezu je nutné, aby byl viditelný 3D pohled nebo půdorysný pohled a bylo možné sledovat výsledky prováděných akcí. Zde uvádíme několik skutečností, na které je nutné pamatovat:
panel Nástroje umístění
Převzít velikost převezmete rozměry existujícího potrubí.
Následující příklady znázorňují orientaci potrubí přidaného v bokorysném pohledu / pohledu řezu. V těchto příkladech mají všechny existující segmenty rozměry 12" W x 8" H.
V prvním příkladu je v půdorysném pohledu zobrazeno horizontální potrubí velikosti 12" W x 8" H.


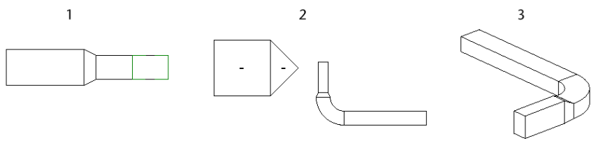
V bokorysném pohledu je k potrubí přidáno horizontální potrubí. Z náhledu potrubí je patrné, že se v orientaci nového potrubí zobrazila plocha 12" (W) jako kóta shora dolů.

Výsledné potrubí je znázorněno níže v bokorysném pohledu (1), půdorysu (2) a 3D pohledu (3). Potrubí obsahuje přechod mezi kolenem a novým segmentem potrubí.


Kreslení nového potrubí nahoru (nebo dolů) od potrubí z předchozího příkladu nevyžaduje zobrazení přechodu. Šířka a výška se zobrazí vzhledem k bokorysnému pohledu.

Při připojování k existujícímu potrubí v bokorysném pohledu může být kvůli dosažení požadovaného výsledku nutné zadat na panelu Možnosti šířku a výšku.
V bokorysném pohledu se nové potrubí připojí k dostupné spojce, která je nejblíže rovině pohledu (v popředí). Dostupná spojka je ta, která dosud není připojena k jiné spojce a je uvnitř ohraničení bokorysného pohledu. (Jedinou hranicí bokorysného pohledu je rovina pohledu v popředí.)
V následujícím příkladu jsou obě spojky na existujícím potrubí (1) dostupné. Horizontální segment přidaný v bokorysném pohledu řezu (2) se připojí ke spojce nejblíže rovině pohledu, jak je vidět v půdorysném pohledu (3).

Dvě spojky v rozsahu pohledu

Obě spojky v rozsahu pohledu
Pokud je v rozsahu pohledu pouze jedna dostupná spojka, bude použita. V následujícím příkladu je již spojka nejblíže rovině pohledu použita (1). Když přidáváte nové potrubí v bokorysném pohledu (2), bude přidáno na vzdálený konec existujícího potrubí (3) a použije jedinou dostupnou spojku.

Pouze jedna dostupná spojka v rozsahu pohledu

Pouze jedna spojka v rozsahu pohledu
Pokud nejsou v rozsahu pohledu k dispozici žádné spojky, bude potrubí připojeno spojem T v průsečíku roviny pohledu a segmentu. Osa potrubí bude umístěna přesně nad rovinu pohledu.
Pokud nejsou v rozsahu pohledu k dispozici žádné spojky, jako v půdorysném pohledu (1), nové potrubí (přidané v bokorysném pohledu (2)) bude připojeno spojem T v průsečíku výšku roviny bokorysného pohledu a existujícího potrubí (3). Osa potrubí bude umístěna přesně nad rovinu pohledu.

Jediná spojka v rozsahu pohledu je již používána

Dvě spojky v rozsahu pohledu, ale jedna spojka je již používána

Všechny dostupné spojky mimo rozsah pohledu
V pohledu řezu se nové potrubí připojí k dostupné spojce, která je nejblíže rovině pohledu (v popředí). Dostupná spojka je ta, která dosud není připojena k jiné spojce a je uvnitř ohraničení pohledu řezu.
V následujícím příkladu jsou obě spojky na existujícím potrubí (1) dostupné. Horizontální segment přidaný v pohledu řezu (2) se připojí ke spojce nejblíže rovině pohledu, jak je vidět v půdorysném pohledu (3).
Jestliže je v rozsahu pohledu dostupná pouze jedna spojka, bude použita.
Přestože v následujícím příkladu oba konce existujícího potrubí spadají do rozsahu pohledu, pouze jeden je dostupný. Druhá spojka je již používána. Bude použita dostupná spojka, i když je nejdále od roviny pohledu.
Pokud jsou všechny dostupné spojky mimo rozsah pohledu, potrubí bude připojeno spojem T v průsečíku roviny pohledu a existujícího potrubí. Osa potrubí bude umístěna přesně nad rovinu pohledu.

Jediná spojka v rozsahu pohledu, ale tato spojka je již používána

V tomto případě, když je potrubí kresleno v pohledu řezu (1), aplikace Revit přidá krátký segment potrubí mezi spojku VAV a koleno, jak je vidět v půdorysném pohledu (2) a 3D pohledu (3).

V následujícím příkladu jsou v bokorysném pohledu přidány k potrubí dva vertikální segmenty potrubí. Původní potrubí je zobrazeno v půdorysném pohledu (1), v asociovaném 3D pohledu (2) a v jižním pohledu (3).

Výsledné vertikální segmenty jsou zobrazeny (zleva doprava) tak, jak se zobrazí v půdorysném pohledu (1), v asociovaném 3D pohledu (2) a v jižním pohledu (3).


V tomto případě, když je potrubí kresleno v jižním pohledu (1), aplikace Revit přidá krátký segment potrubí mezi spojku VAV a koleno, jak je vidět v půdorysném pohledu (2) a 3D pohledu (3).

V následujícím vzorovém projektu chcete přidat potrubí, které spojí segmenty na podlaží 1 s potrubím na podlaží 2.

V pohledu řezu se potrubí na podlaží 2 zobrazí jako zarovnané nad potrubím na podlaží 1. Pomocí nástroje potrubí můžete kreslit svislou podstupnici od potrubí na VAV na podlaží 1 k existujícímu potrubí na podlaží 2.
Potrubí bude přidáno od spojky na potrubí na VAV na podlaží 1 po horizontální potrubí na podlaží 2.

Asociovaný 3D pohled zobrazuje, jak je potrubí skutečně vytvořeno. Výsledné potrubí bude nakresleno s vertikálním a horizontálním segmentem, aby se mohlo připojit k potrubí na podlaží 2. Horizontální segment bude přidán kolmo k rovině pohledu řezu.
