Bemaßungen können assoziativ, nicht assoziativ oder aufgelöst sein. Assoziative Bemaßungen passen sich automatisch an Änderungen der von ihnen definierten geometrischen Objekte an.
Die Assoziativität von Bemaßungen legt das Verhältnis zwischen geometrischen Objekten und den Bemaßungen fest, die deren Abstände und Winkel angeben. Es stehen drei Arten der Assoziativität zwischen geometrischen Objekten und Bemaßungen zur Verfügung.
Sie können festlegen, ob eine Bemaßung assoziativ oder nicht-assoziativ sein soll, indem Sie die Bemaßung auswählen und einen der folgenden Schritte ausführen:
Eine Bemaßung wird als teilweise assoziativ angesehen, wenn ein Ende der Bemaßung mit einem geometrischen Objekt verknüpft ist. Sie können den Befehl BEMREASSOZ verwenden, um nicht assoziative Bemaßungen erneut zuzuordnen.
Die Assoziativität zwischen einer Bemaßung und einem Objekt kann aus verschiedenen Gründen aufgehoben werden. Beispiel:
Sie können die Beschriftungsüberwachung verwenden, um die Führungslinienassoziativität zu verfolgen. Wenn die Beschriftungsüberwachung aktiviert ist, werden Bemaßungen, deren Assoziativität verloren geht, durch eine Kennzeichnung auf der Bemaßung markiert.

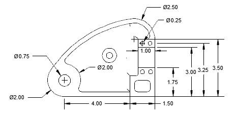
Vor der Aktualisierung

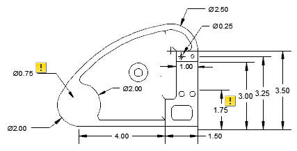
Nach der Aktualisierung
Wenn Sie auf diese Kennzeichnung klicken, wird ein Kontextmenü angezeigt, das Optionen für die entsprechende Beschriftung enthält, deren Zuordnung aufgehoben wurde. Das Menü für eine Bemaßung, die ihre Assoziativität verloren hat, bietet Zugriff auf die Befehle BEMREASSOZ und LÖSCHEN.
Möglicherweise müssen Sie den Befehl BEMREGEN zum Aktualisieren von assoziativen Bemaßungen verwenden, nachdem Sie Pan- oder Zoom-Operationen durchgeführt haben, wenn Sie eine Zeichnung öffnen, die in einer früheren Version von AutoCAD verändert wurde, oder wenn Sie eine Zeichnung mit zuvor geänderten externen Referenzen öffnen.
Assoziative Bemaßungen unterstützen die meisten Objekttypen, die üblicherweise bemaßt werden. Sie unterstützen keine Objekte, wie z. B.
Bei Bemaßungen, die mit Modellzeichnungsansichten verknüpft sind, geht möglicherweise die Verknüpfung verloren, wenn die Zeichnung in einer älteren Version von AutoCAD als 2012 geöffnet und wieder gespeichert wird.