Bei Fräs-/Drehmaschinen wird der Werkzeughalter in Werkzeugaufnahmen befestigt. Die Werkzeugaufnahmen werden meistens vom Werkzeugmaschinenhersteller bereitgestellt. Als solche werden sie in der Maschinenkonstruktionsdatei gespeichert.
Es gibt drei Basistypen für Werkzeugblöcke:
Dieser Werkzeugblock wird für rechtsdrehende Drehwerkzeuge verwendet und auf der Stirnseite des Revolvers montiert.
Dieser Werkzeugblock wird für linksdrehende Drehwerkzeuge verwendet und auf der Stirnseite des Revolvers montiert.
- Revolver
- Werkzeugblock
- Drehwerkzeug
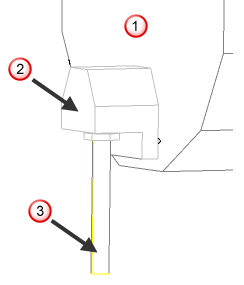
Dieser Werkzeugblock hält Fräswerkzeuge parallel zur X-Achse und wird am Außendurchmesser des Revolvers montiert.
- Revolver
- X-Werkzeugblock (Außendurchmesser Montierung)
- X-Werkzeug
Dieser Werkzeugblock hält Fräswerkzeuge parallel zur X-Achse und wird an der Stirnseite des Revolvers montiert.
- Revolver
- X-Werkzeug nicht außen montiert
- X-Werkzeug
Dieser Werkzeugblock hält Bohrstangen und Bohrer parallel zur Z-Achse und kann am Außendurchmesser oder der Stirnseite des Revolvers montiert werden.
- Revolver
- ID- oder Z-Werkzeugblock
- Z-Werkzeug und Halter
Es kann zwischen Außendrehwerkzeugblöcken für linksdrehende Werkzeuge und rechtsdrehende Werkzeuge unterschieden werden. Sie müssen einen Werkzeugblock für linksdrehende Werkzeuge hinzufügen, wenn Sie linksdrehende Drehwerkzeuge verwenden.
Es ist eine weitere Option für umlaufende X-Werkzeuge und Z-Achsenwerkzeuge verfügbar. Diese Werkzeuge können am Außendurchmesser oder an der Stirnseite des Revolvers montiert werden. Wenn Sie beim Hinzufügen einer Werkzeugposition im Revolver festgelegt haben, dass sich die Werkzeugposition auf der Stirnseite des Revolvers befindet, sollten Sie auch in diesem Dialogfeld die Option für die Stirnseitenmontage auswählen. (Das Gegenteil gilt ebenfalls, wenn das am Außendurchmesser montierte Werkzeug als Werkzeugposition verwendet wurde. Geben Sie an, dass der Werkzeugblock ebenfalls am Außendurchmesser montiert ist.)
Wenn die Außendurchmessermontage bei Ihrem Revolver nicht möglich ist, müssen Sie keinen auf dem Außendurchmesser montierten Werkzeugblock definieren. Sie müssen jedoch mindestens einen Volumenkörper-Werkzeugblock für jeden zu simulierenden Werkzeugtyp definieren. Zurzeit ist es nicht möglich, denselben Volumenkörper für unterschiedliche Werkzeugblocktypen zu verwenden.
Wenn Sie keinen Außendrehwerkzeugblock definieren, versucht FeatureCAM, einen auf dem Außendurchmesser montierten X-Werkzeugblock für Außendrehwerkzeuge zu verwenden. Auf diese Weise können Sie im Allgemeinen eine Maschine mit nur zwei Werkzeugaufnahmen definieren – eine für Außendreh- und X-Werkzeuge und eine weitere für Innenausdrehstähle und andere Z-Werkzeuge.
Sie müssen nur Werkzeugblöcke für den Hauptrevolver definieren. Für den Nebenrevolver werden automatisch entsprechende Umwandlungen verwendet.