Lorsque le modèle 3D source est modifié, les vues de dessin de la documentation ne reflètent pas ces modifications tant qu'elles n'ont pas été mises à jour.
Lorsque l'option Mise à jour auto est activée (variable système VIEWUPDATEAUTO = 0), les vues de dessin sont mises à jour automatiquement :
Lorsque l'option Mise à jour auto est désactivée (variable système VIEWUPDATEAUTO = 0), les vues de dessin ne sont pas mises à jour automatiquement. Les vues de dessin qui doivent être actualisées sont mises en évidence par des marqueurs rouges. Une bulle de notification s'affiche dans la barre d'état système pour vous indiquer que le modèle a été modifié. Ensuite, vous devez mettre à jour explicitement les vues de dessin obsolètes.

Selon les modifications apportées au modèle source, les vue de dessin peuvent s'agrandir ou se réduire. Il existe deux méthodes d'ancrage d'une vue dans le dessin.

Vous pouvez choisir de centrer la vue, de façon à ce qu'elle soit agrandie ou réduite autour de son centre.

Vous pouvez également choisir l'option "Fixe" : dans ce cas, la géométrie inchangée du modèle reste à l'emplacement auquel elle figurait avant la mise à jour. Il est souvent préférable d'utiliser cette option car moins de modifications sont apportées.
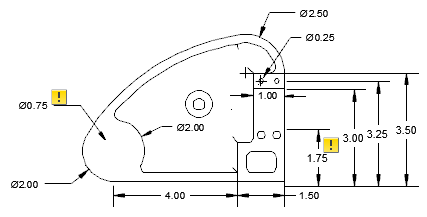
Lorsqu'une mise à jour supprime l'arête à laquelle une annotation est attachée, l'annotation perd son associativité. Vous pouvez effectuer le suivi des annotations qui perdent leur associativité à l'aide du moniteur d'annotations.
Il s'agit d'un service permettant de contrôler l'état des annotations. Lorsque les annotations perdent leur associativité suite à une mise à jour, une notification de bulles indique le nombre d'annotations concernées et l'icône 
 associée au moniteur d'annotations dans la barre d'état est remplacée par 
. En outre, le moniteur d'annotations affiche un badge à côté des annotations concernées. 

Avant une mise à jour

Après une mise à jour
Lorsque vous cliquez sur un badge, le menu qui s'affiche contient des options spécifiques à l'annotation dissociée correspondante. Si vous désactivez le moniteur d'annotations, les badges disparaissent.