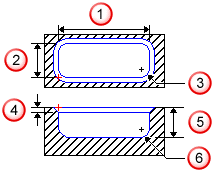
Usare la feature Tasca Rettangolare per creare una tasca rettangolare.

— Lunghezza
— Larghezza
— Raggio spigolo
— Smusso
— Profondità
— Raggio inferiore
Per fare ciò, inserire il diametro della tasca nei campi lunghezza e larghezza e inserire il raggio della Tasca nel campo raggio spigolo.