Automatic Offset (Position with Respect to Section)

The Position with Respect to Section dialog is used to define automatic offsets for structure bars. An offset is determined by a shift of a bar axis to the to the extreme dimension of the section. Open the dialog box by clicking Section position (or Axis offset) in the New Offset dialog.

In the dialog, you can determine a shift of a bar's longitudinal axis with respect to section transversal dimensions. You select the axis position by clicking the appropriate selection button in the section drawing. A description of the postion of the bar section displays under the drawing of the bar section, that is, Axis shift and characteristics of the section position describing the value of the axis shift in the local system:

After OK is clicked, a description of the axis shift also displays in the New Offset dialog.

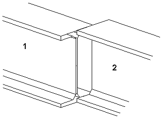
An example of an automatic offset definition and the results from assigning it to a structure bar is shown in the following image.

The automatic offset has been assigned to the bar 2.

A relative offset is available only after selecting the offset definition in the local coordinate system (the local option). Both offset definitions can be combined in the local system. As a result, you can get a combination of the axis shift by numerical and relative values. However, it is impossible to combine a relative offset with an offset defined in the global coordinate system. After the global option is selected, Section position is not available. The global option is available only when the neutral axis position with respect to a section has been selected (the axis is not shifted) for a definition applying the local option.

For 2D structures, not all offset positions are available.

For 3D structures, orientations of the local system axes depend on a position and the orientation of a bar element; therefore, the same offset defined in a local system might give a different effect in the global system. This effect is shown in the following image. The 2 parallel bars show different orientation (the beginning of the bar is 1 and its end is 2). This bar definition causes the orientations of local x and y axes to be opposite. As a result, the same offset by Vpy value (that is, by one-half of the section width) in the local system results in the opposite section shift in the global system.

See also:

Offset definition in the local/global system