Turn/Mill マシンでは、工具ホルダーは工具ブロックにホールドされています。工具ブロックはほとんどの場合、マシン ベンダーによって提供されます。また、マシン デザイン ファイルに格納されます。
基本的な工具ブロックには、次の 3 つのタイプがあります。
この工具ブロックは右勝手の旋削工具をホールドし、タレットのフェース上に取り付けられます。
この工具ブロックは左勝手の旋削工具をホールドし、タレットのフェース上に取り付けられます。
- タレット
- 工具ブロック
- 旋盤工具
この工具ブロックはフライス工具を X 軸と平行にホールドし、タレットの外径上に取り付けられます。
- タレット
- X 工具の工具ブロック(外径取り付け)
- X 工具
この工具ブロックはフライス工具を X 軸と平行にホールドし、タレットのフェース上に取り付けられます。
- タレット
- X 工具の工具ブロック(外径以外に取り付け)
- X 工具
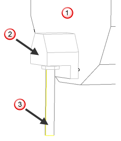
この工具ブロックはボーリング バーとドリルを Z 軸と平行にホールドし、タレットの外径上、または、フェース上に取り付けられます。
- タレット
- 内径工具、または、Z 工具の工具ブロック
- Z 工具と工具ホルダー
外径旋削加工の工具ブロックで、左勝手と右勝手を区別しておきたいこともあります。左勝手の旋削工具を使用する場合は、左勝手の工具ブロックを追加します。
X 回転工具と Z 工具には、さらにオプションがあります。これらの工具を、タレットの外径、または、タレットのフェースに取り付けることができます。タレットの工具位置を追加する際に、タレットのフェースを指定した場合、工具ブロックもフェース取り付けを指定します。 (逆の場合もあります。外径取り付け工具を工具位置に用いる場合、工具ブロックも外径取り付けを指定します。)
使用しているタレットの外径に工具を取り付けられない場合、外径取り付けの工具ブロックを定義する必要はありません。ただし、シミュレーションするすべての工具タイプに対して、最低 1 つの工具ブロック ソリッドを定義しなければなりません。1 つのソリッドを異なるタイプの複数の工具ブロックに使用することはできません。
外径旋削加工の工具ブロックを定義しなかった場合、FeatureCAM はすべての外径旋削工具に、外径取り付けの X 工具の工具ブロックを使用します。これにしたがい、通常は 2 つの工具ブロック(外径旋削工具と X 工具用の工具ブロックと、内径ボーリング バーと他の Z 工具用の工具ブロック)だけでマシンを定義することができます。
工具ブロックは、メインタレットのみに定義します。サブタレットには、適切に変換された工具ブロックが自動的に適用されます。