선택한 단면 뷰 객체의 특성을 변경합니다.
다음과 같은 옵션이 표시됩니다.
이 패널은 Inventor 모형에서 작성한 단면 뷰를 편집할 때만 표시됩니다. 볼 수 있는 옵션은 선택한 모형의 특성에 따라 달라집니다. 설계 뷰에 대해서만 값을 편집할 수 있습니다.
선택한 단면 뷰에 사용할 표시 스타일을 지정합니다.
선택한 뷰에 사용할 절대 축척을 지정합니다. 드롭다운 리스트에서 표준 축척을 선택하거나 비표준 축척을 직접 입력할 수 있습니다.
선택한 뷰에 표시할 객체 리스트를 표시합니다.
단면 뷰에서 작성한 뷰가 단면 절단부를 상속하는지 여부를 지정합니다.
뷰 옵션 대화상자를 표시합니다. 이 대화상자에서는 단면 뷰 앵커 방법과 Inventor 참조 부품 표시 방법을 지정합니다.
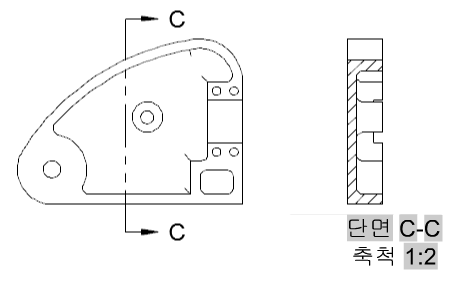
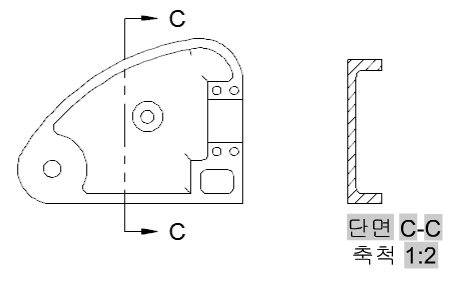
단면 뷰, 법선 또는 직교의 뷰 유형을 지정합니다.

배치에 단면 뷰가 배치된 경우에만 이 옵션을 사용할 수 있습니다.

배치에 단면 뷰가 배치된 경우에만 이 옵션을 사용할 수 있습니다.

단면 선의 절단 평면을 넘는 형상을 단면 뷰에 포함하거나 제거할 수 있는 깊이 거리를 지정합니다.
이 옵션은 깊이에서 거리 옵션을 선택한 경우에만 사용할 수 있습니다.
단면 선과 생성되는 단면 뷰의 레이블을 지정합니다.
프로그램은 다음 자유 단면 레이블을 항상 도면에서 결정합니다. 레이블 I, O, Q, S, X 및 Z는 기본적으로 제외됩니다. 그러나 이러한 레이블은 수동으로 덮어쓸 수 있습니다. 단면 뷰 스타일 수정 대화상자에서 제외할 영문자를 지정할 수 있습니다.
단면 뷰 레이블 문자를 표시할지 여부를 지정합니다.
선택한 단면 뷰에서 해치를 표시할지 여부를 지정합니다. 해치를 클릭하면 해치 특성을 편집할 수 있는 도면 뷰 해치 편집기 상황별 리본 탭이 표시됩니다.
변경 사항을 저장하고 단면 뷰 편집기 리본 상황별 탭을 종료합니다.
수행한 변경 사항을 저장하지 않고 단면 뷰 편집기 리본 상황별 탭을 종료합니다.
확인을 클릭하거나 업데이트 연기를 끌 때까지는 선택한 도면 뷰가 특성 변경에 응답하지 않도록 합니다. 일반적으로 이 옵션은 각 특성 변경을 실시간으로 적용하는 데 시간이 걸릴 수 있는 큰 모형의 도면 뷰에 사용됩니다.