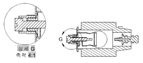
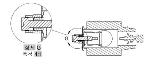
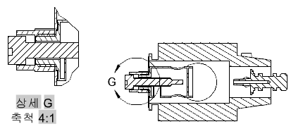
모형 문서 도면 뷰 일부분의 상세 뷰를 작성합니다.
상세 뷰는 다른 도면 뷰의 일부가 포함된 도면 뷰로, 더 큰 축척으로 확대됩니다. 원형 또는 직사각형 상세 뷰를 작성할 수 있습니다. 이 명령은 배치에서만 지원되며 도면 뷰가 있어야 합니다.
다음과 같은 프롬프트가 표시됩니다.
상세 뷰를 파생시킬 뷰를 지정합니다.
상위 뷰에서 상세 뷰 경계에 대한 중심점을 지정합니다.
이 패널은 Inventor 모형에서 상세 뷰를 작성한 경우에만 표시됩니다. 상세 뷰를 작성할 때는 설계 뷰의 값만 편집할 수 있습니다.
상세 뷰의 표시 옵션을 지정합니다.

상세 뷰의 축척을 지정합니다. 기본적으로 상세 뷰의 배율은 상위 뷰의 두 배이거나, 리본의 모양 패널에 있는 축척 리스트에서 다음으로 큰 값입니다.
상세 뷰에 대해 설정할 가시성 옵션을 지정합니다. 객체 가시성 옵션은 모형마다 다르며, 일부 옵션은 선택한 모형 및 해당 모형에서 작성된 뷰에서 사용할 수 없습니다.
모서리 간섭 가시성을 켜거나 끕니다. 한 개 이상의 솔리드 본체가 서로 교차할 때 모서리 간섭이 발생합니다. 모서리 간섭 가시성이 켜진 경우 프로그램은 솔리드 본체와 만나는 곳에 선을 그립니다.
접선 모서리 가시성을 켜거나 끕니다. 접선 모서리는 평평한 표면과 둥근 모서리 간의 변환을 표시하며, 이는 가장 일반적으로 모깎기된 모서리로 표시됩니다.
판금 절곡부 범위 선의 가시성을 켜거나 끕니다. 판금 절곡부 범위 선은 평평한 판금 뷰에서 절곡부가 경첩되거나 접히는 변환 위치를 나타냅니다.
이 옵션은 해당하는 모형에 평평한 판금 뷰가 정의되어 있는 경우에만 사용할 수 있습니다.
스크루 및 탭 구멍에 대한 스레드 선 가시성을 켜거나 끕니다.
프리젠테이션 트레일 가시성을 켜거나 끕니다. 프리젠테이션 트레일은 구성요소가 조립된 위치로 이동하는 방향을 표시하는 분해된 뷰의 선(프리젠테이션 파일)입니다.
상세 뷰 경계 유형을 지정합니다.
구속조건 추론이 켜져 있으면 원형 상세 경계의 중심이 상위 뷰의 점에 연관됩니다. 구속조건 추론이 꺼져 있으면 원형 상세 경계의 중심이 상위 뷰의 점에 연관되지 않습니다.
구속조건 추론이 켜져 있으면 직사각형 상세 경계의 구석이 상위 뷰의 점에 연관됩니다. 구속조건 추론이 꺼져 있으면 직사각형 상세 경계의 구석이 상위 뷰의 점에 연관되지 않습니다.
프로그램에서는 항상 도면에서 사용 가능한 다음 자유 상세 레이블을 결정합니다.
상세 뷰 레이블 문자의 표시 여부를 지정합니다.




상세 경계와 생성되는 상세 뷰의 레이블을 지정합니다.
상세 뷰 레이블 문자를 표시할지 여부를 지정합니다.
상세 뷰를 도면 영역에 배치한 후 이동합니다. 명령이 강제 종료되지 않습니다.
명령 주기에서 옵션이 나타나는 위치에 따라 이전 프롬프트로 돌아가거나 명령을 완료합니다.