Автоматическое смещение (позиция по отношению к сечению)

Это диалоговое окно используется для автоматического определения смещений в стержнях конструкции. Смещение определяется смещением оси стержня в крайнюю точку сечения. Диалоговое окно открывается после нажатия на кнопку Позиция сечения (или Осевое смещение) в диалоговом окне Новое смещение.

В этом диалоговом окне пользователь может определить смещение продольной оси стержня по отношению к поперечному его сечению. Положение оси выбирается щелчком по соответствующей кнопке, расположенной на схеме поперечного сечения. Под рисунком поперечного сечения стержня находится описание расположения этого сечения, т. е. Смещение оси и характеристики положения сечения, определяющие величину смещения оси в локальной системе координат:

Как только будет нажата клавиша ОК, текст, описывающий смещение оси, появится также в диалоговом окне смещение

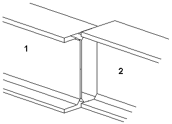
Пример автоматического определения жесткой вставки и результат ее присоединения к стержню конструкции, показан на рисунке ниже.

Определенная автоматически смещение (рисунок внизу) присоединена к стержню с номером 2.

Относительная установка жесткой вставки возможна только после ее назначения в локальной системе осей (опция локальный). Можно комбинировать оба способа определения жестких вставок в локальной системе координат, в результате, пользователь может получить комбинацию сдвига оси в численном виде и в относительных значениях. Однако нельзя комбинировать относительную установку жесткой вставки с установкой в глобальной системе координат. Как только выбрана опция глобальный, кнопка Положение по отношению к сечению… становится недоступной. Опция глобальный доступна только при выборе среднего положения оси по отношению к выделенному сечению (ось неподвижна) для использования опции локальный.

Для 2D конструкций не все положения жесткой вставки возможны.

В случае 3D конструкций пользователь должен иметь в виду следующее: знаки локальной системы осей зависят от положения и направления стержневого элемента. Это показано на рисунке ниже. Два параллельных стержня имеют разные ориентации (начало стержня отмечено номером "1", а его конец – номером "2"). Такому положению стержней соответствуют противоположные знаки локальных осей x и y. В результате одна и та же жесткая вставка со значением Vpy (т. е. значением половины ширины сечения) в локальной системе координат приводит к противоположному смещению сечения в глобальной системе.

См. также:

Определение смещения в местной/общей системе