編輯既有的模型文件圖面視圖。
功能區處於作用中狀態時,這個指令會顯示「圖面視圖編輯器」功能區關聯式頁籤。當功能區不是處於作用中狀態時,請使用指令行來變更要編輯之視圖的性質。
將顯示以下提示。
指定要編輯的圖面視圖。
指定表現法類型,以讓您選取要在所選圖面視圖中展示的表現法。只有 Inventor 模型才支援表現法。
選取要在所選圖面視圖中展示的設計視圖表現法。輸入 ? 以顯示可用的設計視圖清單。
只有當所選圖面視圖是從含有設計視圖表現法的 Inventor 組合 (*.iam) 中所建立時,才能使用這個選項。
選取要在所選圖面視圖中展示的位置表現法。輸入 ? 以顯示可用的設計視圖清單。
只有當所選圖面視圖是從含有位置表現法的 Inventor 組合 (*.iam) 中所建立時,才能使用這個選項。
選取要在所選圖面視圖中展示的詳細等級表現法。輸入 ? 以顯示可用的表現法清單。
只有當所選圖面視圖是從 Inventor 組合 (*.iam) 中所建立時,才能使用這個選項。
選取要在所選圖面視圖中展示的熔接狀態。
輸入 ? 以顯示熔接狀態清單和在準備狀態中的元件。
「組合」狀態展示的是在執行任何作業之前的熔接。「熔接」狀態展示的是在執行熔接之後的組合。「加工」狀態展示的是在執行後熔接加工之後的熔接。未明確列出「準備」狀態。但是,? 選項可列出處於熔接前準備狀態的元件名稱。
只有當所選圖面視圖是從 Inventor 熔接組合 (*.iam) 中所建立時,才能使用熔接表現法。
選取要在所選圖面視圖中展示的 iAssembly 工廠或 iPart 工廠成員。輸入 ? 以顯示可用的成員清單。
只有當所選圖面視圖是從 iAssembly 工廠或 iPart 工廠 (*.iam、*.ipt) 中所建立時,才能使用這個選項。
選取要在所選圖面視圖中展示的板金視圖。輸入 ? 以顯示可用的選項清單。
只有當所選圖面視圖是從 iAssembly 工廠或 iPart 工廠 (*.iam、*.ipt) 中所建立時,才能使用這個選項。
選取要在所選圖面視圖中展示的簡報視圖。輸入 ? 以顯示可用的視圖清單。
只有當所選圖面視圖是從 Inventor 簡報文件 (*.ipn) 中所建立時,才能使用這個選項。
指定要用於基準視圖的顯示型式。

指定要用於所選視圖的絕對比例。如果要變更比例,請從下拉清單中選取標準比例,或直接輸入非標準比例。
依預設,投影視圖和剖面視圖會自父系繼承相同的比例;詳圖的比例高於父系視圖一個比例。
指定要為基準視圖設定的可見性選項。
打開或關閉干涉邊的可見性。當一個或多個實體本體彼此相交時會產生干涉邊。打開干涉邊的可見性時,程式會在實體本體相交處繪製一條線。
打開或關閉相切邊的可見性。相切邊會標記平面曲面與圓角邊緣之間的轉換,這最常被看成是圓角邊。
打開或關閉板金折彎實際範圍線的可見性。板金折彎實際範圍線指出在平面化的板金視圖中,折彎轉軸或折疊轉換的位置。
只有對應模型中具有已定義的平面化板金視圖時,才能使用此選項。
打開或關閉螺釘和攻牙孔上螺紋線的可見性。
打開或關閉簡報系統線的可見性。簡報系統線為 (簡報檔中) 分解視圖中的線段,可展示元件移入組合位置的方向。
指定剖面視圖的投影方式是正投影。
指定剖面線的深度。
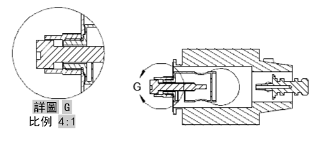
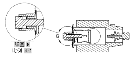
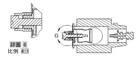
指定詳圖邊界為圓形或矩形。預設邊界是圓形。




指定填充線會顯示在選取的剖面或詳圖中。
根據指令循環中選項出現的位置,回到前一個提示或完成指令。