使用相同的工具和方法,在立面和剖面視圖中繪製風管系統,如同在平面視圖中一樣。
但是,因為您正在從不同的視景檢視配置,所以結果並不會永遠如預期一般。立面/剖面視圖中繪製的風管系統是相對於立面/剖面視圖平面來繪製的。在立面/剖面視圖中繪製時,您應該讓 3D 視圖或平面視圖保持可見,以查看動作的結果。以下是必須謹記的重要事項:
「放置工具」面板
「繼承大小以採用現有風管系統的大小」。
下列範例展示在立面/剖面視圖中加入的風管系統之方位。在這些範例中,所有的現有區段皆為 12" W x 8" H。
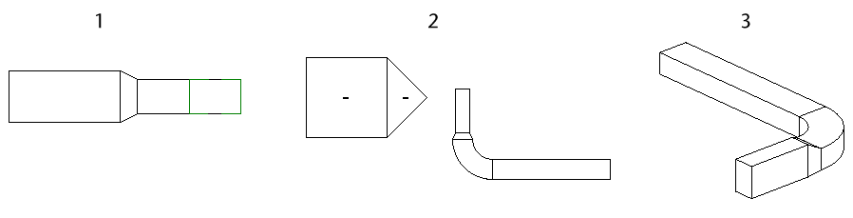
在第一個範例中,12" W X 8" H 水平風管是顯示在平面視圖中。


在立面視圖中,水平風管會加入至風管。風管的預覽展示新風管的方位具有 12" 面 (W),其以從上到下的標註顯示。

產生的風管系統會顯示在立面視圖 (1)、平面視圖 (2) 和 3D 視圖 (3) 下方。風管系統包含彎頭和新風管段之間的轉接頭。


從先前範例中的風管繪製向上 (或向下) 的新風管時,則不需要顯示轉接頭。寬度與高度會相對於立面視圖顯示。

當連接至立面視圖中的現有風管時,您可能需要在選項列上指定寬度和高度,以達成您想要的結果。
新風管將連接至最接近立面視圖的視圖平面 (在前景) 的可用接點。可用接點是尚未連接至另一個接點,並在立面視圖邊界內的接點。(立面視圖的唯一邊界為前景中的視圖平面。)
在下列範例中,可以使用現有風管 (1) 上的兩個接點。立面視圖 (2) 中加入的水平線段會連接至最接近視圖平面的接點,如平面視圖 (3) 中所示。

視圖範圍內的兩個接點

視圖範圍內的兩個接點
如果視圖範圍內僅有一個可用的接點,則將使用該連接。在以下範例中,已使用最接近檢視平面的接點 (1)。當新風管在立面視圖 (2) 中加入時,會使用唯一可用的接點,將其加入在現有風管系統 (3) 的遠端。

視圖範圍內僅有一個可用的接點

視圖範圍內僅有一個接點
如果視圖範圍內沒有可用的接點,則風管會與視圖平面和區段相交處的 T 接頭連接。風管的中心線會完全放置於視圖平面上。
如果視圖範圍內沒有可用的接點,如同在平面視圖中 (1),新風管 (在立面視圖 (2) 中加入) 會與立面視圖平面與現有風管系統 (3) 相交處的 T 接頭連接。風管的中心線會完全放置於視圖平面上。

視圖範圍內的唯一接點已在使用中

視圖範圍內有兩個接點,但其中一個接點已在使用中

視圖範圍以外的所有可用接點
新風管會連接至最接近剖面視圖的視圖平面 (在前景) 的可用接點。可用接點是尚未連接至另一個接點,並在剖面視圖邊界內的接點。
在下列範例中,現有風管 (1) 上的兩個接點皆可使用。剖面視圖 (2) 中加入的水平線段會連接至最接近視圖平面的接點,如平面視圖 (3) 中所示。
如果視圖範圍內僅能使用一個接點,則會使用該接點。
在下列範例中,雖然現有風管的兩端都落在視圖範圍內,但是只能使用一個。其他接點已在使用中。即使可用的接點離視圖平面最遠,還是會使用它。
如果所有可用的接點位於視圖範圍之外,則風管會與視圖平面和現有風管系統相交處的 T 接頭連接。風管的中心線會完全放置於視圖平面上。

視圖範圍內的唯一接點,但是該接點已在使用中

在這種情況下,當風管繪製在剖面視圖 (1) 時,Revit 會在 VAV 接點與彎頭之間加入短風管段,如平面視圖 (2) 和 3D 視圖 (3) 所示。

在下列範例中,2 個垂直風管段會加入至立面視圖中的風管系統。原始風管系統會展示在平面視圖 (1)、關聯的 3D 視圖 (2),以及南面立面視圖 (3) 中。

產生的垂直線段會展示 (從左到右) 它們如何顯示在平面視圖 (1)、關聯的 3D 視圖 (2),以 及南邊立面視圖 (3) 中。


在這種情況下,當風管繪製在南面立面視圖 (1) 時,Revit 會在 VAV 接點與彎頭之間加入短風管段,如平面視圖 (2) 和 3D 視圖 (3) 所示。

在下列範例專案中,您想要加入風管系統,以將樓層 1 上的區段與樓層 2 上的風管系統連接。

在剖面視圖中,樓層 2 風管系統會以對齊方式顯示在樓層 1 風管系統的上方。您可以使用風管工具來繪製一個從樓層 1 VAV 上的風管系統到樓層 2 上現有風管系統的垂直豎板。
風管系統會從樓層 1 VAV 上風管系統上的接點加入至樓層 2 上的水平風管系統。

相關聯的 3D 視圖會展示如何實際建立風管系統。產生的風管系統會以垂直區段和水平區段來繪製,以與樓層 2 上的風管系統連接。水平區段會垂直加入至剖面視圖平面。
