Při změně zdrojového 3D modelu nemusí výkresové pohledy dokumentace modelu odrážet změny, dokud nebudou aktualizovány.
Pokud jsou automatické aktualizace zapnuté (systémová proměnná VIEWUPDATEAUTO = 1), výkresové pohledy se automaticky aktualizují:
Pokud jsou automatické aktualizace vypnuté (systémová proměnná VIEWUPDATEAUTO = 0), výkresové pohledy se automaticky neaktualizují. Výkresové pohledy vyžadující aktualizaci jsou zvýrazněny červenými značkami. V oznamovací oblasti hlavního panelu se objeví bublinové upozornění na změnu modelu. Poté je třeba ručně aktualizovat zastaralé výkresové pohledy.

V závislosti na změně zdrojového modelu se pohledy výkresu mohou zvětšit nebo zmenšit. Existují dva způsoby, kterými můžete pohled ukotvit ve výkresu.

Můžete se rozhodnout k zarovnání pohledu na střed, takže se bude zvětšovat nebo zmenšovat kolem svého středu.

Můžete také vybrat možnost „pevného“ umístění, která vynucuje, aby nezměněná geometrie modelu zůstala v umístění, kde byla před operací aktualizace. Často se jedná o preferovanou variantu, protože posuny nejsou tak výrazné.
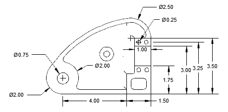
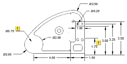
Jestliže událost aktualizace odstraní hranu, ke které je poznámka připojena, ztratí se možnost připojení poznámky. Poznámky, které ztratí asociativitu, lze sledovat pomocí funkce Sledování poznámek.
Sledování poznámek je služba, která monitoruje „zdravotní stav“ poznámek. Jestliže událost aktualizace způsobí ztrátu asociativity poznámek, bublina s upozorněním udává počet dotčených poznámek a ikona Sledování poznámek se změní z
na
. Dále Sledování poznámek zobrazí symbol poblíž dotčených poznámek.

Před aktualizací události

Po aktualizaci události
Kliknutím na indikátor zobrazíte nabídku, která obsahuje možnosti specifické pro odpovídající poznámky se zrušenou asociativitou. Pokud funkci Sledování poznámek vypnete, symboly zmizí.