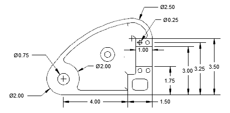
Dimensions can be associative, nonassociative, or exploded. Associative dimensions adjust to changes in the geometric objects that they measure.
Dimension associativity defines the relationship between geometric objects and the dimensions that give their distance and angles. There are three types of associativity between geometric objects and dimensions.
You can determine whether a dimension is associative or non-associative by selecting the dimension and doing one of the following:
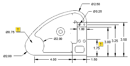
A dimension is considered partially associative when only one end of the dimension is associated with a geometric object. You can use the DIMREASSOCIATE command to reassociate non-associative dimensions.
Associativity between a dimension and an object may be lost for several reasons. For example:
You can use the annotation monitor to track leader associativity. When the annotation monitor is on, it flags dimensions that lose associativity by displaying a badge on the dimension.

Before update event

After update event
Clicking a badge, displays a menu that contains options specific to the corresponding disassociated annotation. The menu on a dimension that has lost associativity provides access to the DIMREASSOCIATE and ERASE commands.
You might need to use DIMREGEN to update associative dimensions after panning or zooming, after opening a drawing that was modified with an earlier release, or after opening a drawing with external references that have been modified.
Associative dimensions support most object types that you would expect to dimension. They do not support objects such as
Dimensions associated to model drawing views may lose their associativity if the drawing is opened and re-saved in a pre-2012 release of AutoCAD.