Se utilizan los mismos métodos y herramientas para dibujar tuberías en las vistas de alzado que en las vistas en planta. Sin embargo, debido a que está visualizando el diseño desde una perspectiva diferente, los resultados no son siempre los esperados. Las tuberías dibujadas en una vista de alzado se dibujan en relación con el plano de vista de alzado. Al dibujar en una vista de alzado, se debe mantener una vista 3D o una vista de plano visible para ver los resultados de las acciones. A continuación, se indican algunos aspectos que se deben tener en cuenta:
La nueva tubería se conectará a los conectores disponibles más cercanos al plano de la vista (en el primer plano) para la vista de alzado. Un conector disponible es uno que no está conectado a otro conector y está dentro de los límites de la vista de alzado. (El único contorno para una vista de alzado es la vista de plano en el primer plano.)
En el siguiente ejemplo, ambos conectores de una tubería existente (1) están disponibles. El segmento horizontal añadido en la vista de alzado (2) se conecta al conector más cercano al plano de la vista, como se muestra en la vista de plano (3).

Dos conectores dentro del rango de la vista
Si solo hay un conector disponible dentro del rango de la vista, se utilizará dicho conector. En el siguiente ejemplo, el conector más cercano al plano de vista ya se usa (1). Cuando la nueva tubería se añade en la vista de alzado (2), este se añade al extremo final de la tubería (3), y se utiliza el único conector disponible.

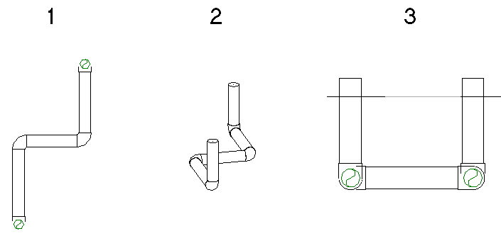
Solo un conector disponible dentro del rango de la vista
Si no hay disponibles conectores dentro del rango de la vista, la nueva tubería se conectará con un tubo en T en la intersección del plano de vista de alzado y la tubería existente. El eje de la tubería se coloca exactamente sobre el plano de la vista.
En el siguiente ejemplo, dos segmentos de tubería vertical se añaden a una sección de tubería en una vista de alzado. La tubería se muestra en una vista de plano (1), en la vista 3D asociada (2) y en la vista de alzado sur (3).

Los segmentos verticales resultantes se muestran (de izquierda a derecha) de la misma forma en que se muestran en la vista de plano (1), en la vista 3D asociada (2) y en la vista de alzado sur (3).


En este caso, cuando la tubería se dibuja en la vista de alzado sur (1), Revit añade un segmento de tubería corto entre el conector de caldera y el codo, tal como se muestra en la vista de plano (2) y la vista 3D (3).
