Vous pouvez ajuster automatiquement les cotes linéaires et angulaires dans un dessin de façon à ce qu'elles soient espacées ou alignées régulièrement sur la ligne de cote.
La commande COTLIGN utilise la variable système DIMDLI pour créer des cotes espacées régulièrement ; une fois que les cotes sont placées, changer la valeur de la variable système n'a aucun effet sur l'espacement des cotes. Si vous modifiez la taille du texte ou ajuster l'échelle des cotes, celles-ci restent à leur position d'origine, ce qui peut causer des problèmes de chevauchement de lignes de cote et de texte.
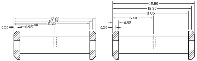
Vous pouvez espacer les cotes linéaires et angulaires qui se chevauchent ou qui ne sont pas espacées régulièrement avec la commande ESPACECOTES. Les cotes qui sont sélectionnées doivent être linéaires ou angulaires, du même type (pivotées ou alignées), parallèles ou concentriques et se trouver sur les lignes d'attache des unes et des autres. Vous pouvez également aligner des cotes linéaires ou angulaires en utilisant une valeur d'espacement de 0.
L'illustration suivante montre des cotes linéaires qui ne sont pas espacées régulièrement et d'autres qui le sont après l'utilisation de la commande ESPACECOTES.
