Les symboles de soudure sont des annotations spécifiques à la vue. Ils s’affichent uniquement dans les vues auxquelles vous les ajoutez.
- Cliquez sur l’onglet Annoter
groupe de fonctions Symbole
(Symbole).
- Dans le sélecteur de type, sélectionnez le symbole de soudure approprié.
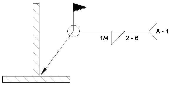
Les symboles de soudure suivants sont disponibles :
- Arc
- En demi-V
- Biseau
- V
- Arrière
- En V
- J
- En entailles allongées
- Carré
- U
- Cliquez à l’emplacement de la zone de dessin où vous souhaitez que le symbole s’affiche.
- Cliquez sur Modifier, puis sélectionnez le symbole de soudure.
- Dans la palette Propriétés, spécifiez les propriétés souhaitées pour le symbole de soudure.
En outre, vous pouvez définir les propriétés suivantes pour les symboles de soudure :
- Longueur, taille et type du symbole supérieur
- Longueur, taille et type du symbole inférieur
- Type du symbole de contour
- Configuration des repères
- Affichage des marques et des remarques
- Affichage des symboles de pourtour et des symboles de soudure faite au chantier
- Orientation du symbole vers la gauche ou vers la droite
Pour modifier les différents paramètres de symboles de soudure, vous pouvez également sélectionner le symbole à modifier, puis cliquer sur la valeur textuelle correspondante qui s’affiche en bleu. Saisissez la valeur choisie dans la zone de texte, puis appuyez sur la touche Entrée.
Vous pouvez aussi créer la famille de symboles de soudure dans l’éditeur de familles et la charger dans le projet. Pour créer la famille de symboles, utilisez le gabarit Annotations génériques. Lors de la création de la famille de symboles de soudure, vous remarquerez que vous ne pouvez la voir que dans une seule vue. Comme les autres annotations, elle est spécifique à une vue.