Quando il modello 3D di origine viene modificato, le modifiche non vengono visualizzate nelle viste 2D della documentazione modello fino a quando queste non vengono aggiornate.
Quando l'aggiornamento automatico è attivato (la variabile di sistema VIEWUPDATEAUTO è impostata su 1), le viste 2D vengono aggiornate automaticamente nei seguenti casi:
Quando l'aggiornamento automatico è disattivato (la variabile di sistema VIEWUPDATEAUTO è impostata su 0), le viste 2D non vengono aggiornate automaticamente. Le viste 2D che devono essere aggiornate sono evidenziate da contrassegni di colore rosso. Viene visualizzata una bolla di notifica nella barra delle applicazioni per informare l'utente che il modello è stato modificato. A questo punto, è necessario aggiornare le viste 2D obsolete.

A seconda della modifica nel modello di origine, le dimensioni della vista possono aumentare o diminuire. Esistono due modi per ancorare una vista nel disegno.

È possibile scegliere di giustificare la vista al centro, in modo da consentirne la crescita o la riduzione intorno al centro.

È inoltre possibile scegliere l'opzione "fissa", che forza la geometria del modello invariata a restare nella posizione in cui si trovava prima dell'operazione di aggiornamento. Spesso, questa è l'opzione preferita in quanto si verifica il minor numero di cambiamenti.
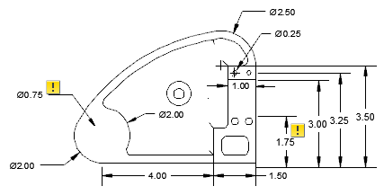
Quando un evento di aggiornamento rimuove uno spigolo a cui è collegata un'annotazione, questa perde l'associatività. È possibile tenere traccia delle annotazioni che perdono l'associatività con l'aiuto del controllo annotazioni.
Il controllo annotazioni è un servizio che consente di monitorare l'integrità delle annotazioni. Quando un evento di aggiornamento determina la perdita dell'associatività delle annotazioni, una bolla di notifica indica il numero di annotazioni interessate e l'icona di Controllo annotazioni sulla barra di stato cambia da
a
. Il controllo annotazioni, inoltre, visualizza un simbolo accanto alle annotazioni interessate.

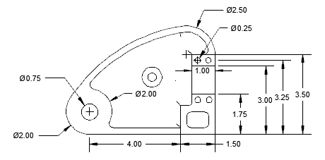
Prima dell'evento di aggiornamento

Dopo l'evento di aggiornamento
Se si fa clic su un flag, viene visualizzato un menu contenente le opzioni specifiche per la corrispondente annotazione dissociata. Se si disattiva il controllo annotazioni, il simbolo scompare.