Informazioni sulla regolazione della spaziatura tra le quote

È possibile regolare automaticamente quote angolari e lineari parallele esistenti in un disegno per disporle a distanze uguali o allinearle tra loro rispetto alla linea di quota.

Il comando DIMLBASE utilizza la variabile di sistema DIMDLI per creare quote con spaziature uniformi. Tuttavia, una volta che le quote sono state inserite, se si modifica il valore della variabile di sistema, la spaziatura delle quote rimane inalterata. Se viene modificata la dimensione del testo o viene regolata la scala per le quote, le quote rimangono nella posizione originale. Questa situazione può determinare dei problemi di sovrapposizione di linee e testo.

È possibile distanziare quote lineari e angolari che si sovrappongono o che non si trovano a distanze uguali utilizzando il comando SPAZIOQUOTE. Le quote selezionate devono essere lineari o angolari e dello stesso tipo (ruotate o allineate). Devono inoltre essere parallele o concentriche e trovarsi sulle reciproche linee di estensione. È inoltre possibile allineare quote angolari e lineari utilizzando il valore di spaziatura 0.

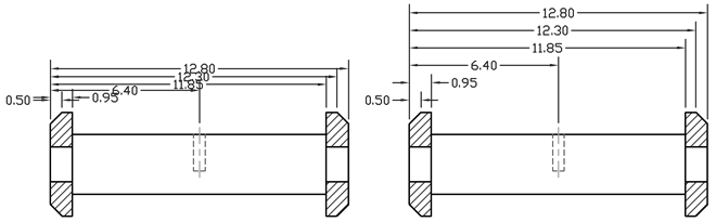
Nell'illustrazione che segue vengono presentate le quote lineari parallele non posizionate a distanze uguali e quelle posizionate a distanze uguali dopo l'utilizzo del comando SPAZIOQUOTE.