È possibile creare quote generali nelle viste ortogonali o assonometriche. Il tipo di quota e le opzioni disponibili nel menu contestuale sono determinati dalla geometria selezionata.
Il testo delle quote può essere sostituito senza ripercussioni sulla geometria del modello.
È inoltre possibile modificare la precisione e la tolleranza, la direttrice e le punte freccia o il contenuto del testo delle quote.

Crea più quote che visualizzano la distanza ortogonale tra l'origine (linea di base) e gli spigoli o i punti selezionati. Il primo spigolo o punto selezionato rappresenta la geometria di origine. È possibile creare singole quote o un gruppo di quote.

Crea più quote coordinate in un unico processo. Le quote coordinate vengono allineate automaticamente man mano che vengono posizionate. Se il testo della quota risulta sovrapposto è possibile modificare la posizione o lo stile della quota. È possibile creare singole quote o un gruppo di quote.

Visualizza tutte le quote modello o solo le quote correlate alle parti o lavorazioni selezionate. È possibile selezionare le quote da mantenere nella vista del disegno.
Sono disponibili solo le quote modello parallele al piano della vista.
Le quote modello possono essere modificate al fine di elaborare il file di parti.

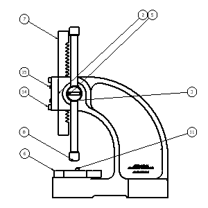
I centri vengono aggiunti all'arco o al cerchio selezionato. Le linee di estensione del centro vengono ridimensionate automaticamente in modo da adattarle alla geometria.
È possibile aggiungere centri manualmente o tramite il comando Linee d'asse automatiche.

Crea linee d'asse per gli spigoli selezionati in corrispondenza del punto medio di una linea o del punto centrale di un arco o cerchio. Crea una linea d'asse quando le lavorazioni formano una serie circolare.
In Autodesk Inventor sono supportati tre tipi di linee d'asse: bisettrice, di serie centrata e assiale.

Le note foro e filettatura visualizzano informazioni relative a fori, filettature ed estrusioni tagliate cilindriche. Lo stile delle note foro varia a seconda della lavorazione selezionata.

Le note relative allo smusso contengono misurazioni di distanza e angolo per gli spigoli del modello e le linee di schizzo selezionati.
È possibile associare note relative allo smusso a spigoli angolati nelle viste e negli schizzi. Lo spigolo smussato e lo spigolo di riferimento possono appartenere a corpi, modelli o schizzi differenti, ma devono fare parte della stessa vista.

Sono disponibili simboli per diversi tipi di elementi: stati della superficie, saldature, riquadri di controllo della geometria, identificatori della lavorazione, riferimenti parziali e identificatori del riferimento. I simboli possono essere creati con o senza direttrice.
I simboli di schizzo vengono impostati nelle risorse del disegno e sono posizionati in modo analogo ai simboli standard. Vengono utilizzati per la definizione di simboli personalizzati non disponibili in Autodesk Inventor.

Una nota piega consente di aggiungere informazioni sulla fabbricazione alle linee d'asse cosmetiche, della piega e della profilatura della lamiera. Le note sulla piega possono essere aggiunte alle viste del modello piatto delle parti in lamiera.
Le note sulla piega vengono associate alla linea d'asse della piega selezionata. La posizione di default della nota sulla piega è al di sopra della linea d'asse della piega selezionata. Il testo piega viene vincolato al punto medio della linea d'asse. L'offset corrisponde al valore di Offset origine in Stile quota.

Le note punzone contengono dati relativi al punzone, ad esempio l'ID, l'angolo, la direzione, la profondità, la nota di quantità e così via.
Possono essere aggiunte alle viste del modello piatto delle parti in lamiera.

I millepiedi saldatura vengono utilizzati per contrassegnare le saldature nelle viste 2D. È possibile aggiungere millepiedi saldatura manualmente tramite il comando Millepiedi. Per aggiungerli automaticamente dalle saldature, scegliere Ottieni annotazioni modello > Ottieni annotazioni saldatura dal menu contestuale.

I riempimenti estremità vengono utilizzati per rappresentare la regione riempita, indicante l'estremità di un cordone di saldatura. Possono essere aggiunti manualmente tramite il comando Riempimento estremità o automaticamente dai modelli di assiemi saldati scegliendo Ottieni annotazioni modello > Ottieni annotazioni saldatura.
È possibile modificare l'aspetto dei riempimenti estremità tramite le proprietà oggetto.

I numeri di riferimento sono contrassegni di annotazione che identificano gli elementi elencati in un elenco parti. Possono essere inseriti manualmente per ogni singolo componente o automaticamente per tutti i componenti di una vista del disegno. È possibile aggiungere numeri di riferimento ad una parte personalizzata dopo averla aggiunta all'elenco di parti.
La forma e il valore di un numero di riferimento possono essere sostituiti tramite il comando Modifica numero di riferimento del menu contestuale. È possibile associare un'unica a direttrice a più numeri di riferimento tramite le opzioni per l'associazione di numeri di riferimento disponibili nel menu contestuale.

Gli elenchi di parti visualizzano i dati di visualizzazione salvati nella distinta componenti dell'assieme. Possono essere modificati al fine di includere più colonne o valori sostituiti. I dati della distinta componenti possono essere modificati nel file di disegno o nel file dell'assieme.
È possibile aggiungere parti personalizzate all'elenco di parti al fine di includere elementi non modellati, ad esempio vernice o grasso.

È possibile creare una tabella generale, di configurazione o piega.
Una tabella generale può disporre di un numero di righe e colonne di default o può essere personalizzata. La tabella generale può fare riferimento a dati esterni da file .xls, .xlsx o .csv, oppure è possibile immettere qualsiasi altro tipo di dati necessari.
Nei disegni di iPart e iAssembly, le righe nella tabella di configurazione rappresentano i membri della famiglia. È possibile specificare le colonne da includere nella tabella di configurazione, quali lo stato di esclusione e i valori differenti tra i membri.
Le tabelle piega vengono create quando l'origine delle stesse è rappresentata da una parte in lamiera. Contengono informazioni relative alla piega quali angolo e raggio.

Le tabelle fori indicano le dimensioni e la posizione dei fori in un modello. All'aggiunta di una tabella fori, ad ogni singolo foro viene applicato un contrassegno foro e alla tabella viene aggiunta una riga corrispondente.
È inoltre possibile aggiungere centri, punzoni ed estrusioni tagliate cilindriche alle tabelle fori tramite modifica.

Le tabelle revisioni includono informazioni sulle modifiche di progettazione. Possono essere create per l'intero file di disegno o per singoli fogli.
Un contrassegno di revisione evidenzia un oggetto modificato nelle revisioni del progetto. Il livello di revisione di default per il contrassegno equivale alla revisione più recente nella tabella. Il livello di revisione di un contrassegno può essere modificato tramite il menu contestuale.

Il comando Testo consente di aggiungere note generali ad un disegno. Le note generali non sono associate ad alcun simbolo, vista o altro oggetto del disegno.
Il comando Nota con direttrice consente di aggiungere note agli oggetti di un disegno. Se si associa la linea direttrice alla geometria di una vista, la nota viene spostata o eliminata insieme alla vista.
